早上
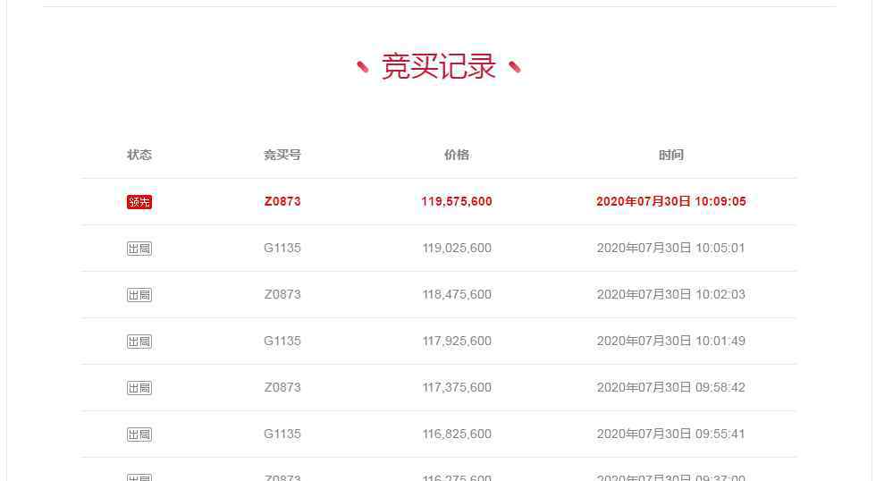
经过7轮投标,
厦门岛一家法国拍卖行成功拍卖
交易总价为119,575,600元
换算单价为65199元/㎡


起拍价1.16亿,起拍价63400元/㎡,押金高达1200万。据悉,该物业位于厦门市思明区,是著名的云顶庄园,门牌号888,建筑面积约1834.5㎡。

房屋外部
今天这个天价的拍卖行堪称厦门历史上最贵的拍卖行,增加了55万元。投标一次是首付。



房屋内部
从图片上可以感受到这个房子的英气。
云顶庄园是厦门乃至福建省著名的顶级豪宅,所以在宣布拍卖时引起了不小的轰动。
此外,据报道,拍卖中甚至包装了家具和照明。根据清算,这些家具的估计价格为348,000英镑。
结束
目前,法国拍卖行因其超低的起拍价、相对公平的竞价环境以及能够以低于市场价格的价格起步而逐渐被买家接受。
然而,法国拍卖行并非没有风险。通过招标购买房屋时,购买者必须注意房屋的产权、房屋现状、购买率等。最好去实地考察,做好万无一失的准备。
1.《厦视一套 天价!约1.2亿元!刚刚,厦门顶级豪宅成交一套房源!折算单价65199元/㎡...》援引自互联网,旨在传递更多网络信息知识,仅代表作者本人观点,与本网站无关,侵删请联系页脚下方联系方式。
2.《厦视一套 天价!约1.2亿元!刚刚,厦门顶级豪宅成交一套房源!折算单价65199元/㎡...》仅供读者参考,本网站未对该内容进行证实,对其原创性、真实性、完整性、及时性不作任何保证。
3.文章转载时请保留本站内容来源地址,https://www.lu-xu.com/fangchan/1123670.html
