
1.集肤效应
1.1集肤效应的原理
图1.1表示了集肤效应的产生过程。图中给出的是载流导体纵向的剖面图,当导体流过电流(如图中箭头方向)时,由右手螺旋法则可知,产生的感应磁动势为逆时针方向,产生进入和离开剖面的磁力线。如果导体中的电流增加,则由于电磁感应效应,导体中产生如图所示方向的涡流。由图可知:涡流的方向加大了导体表面的电流,抵消了中心线电流,这样作用的结果是电流向导体表面聚集,故称为集肤效应。在此引进一个集肤深度〈skin depth〉的概念,此深度的电流密度大小恰好为表面电流密度大小的1/e倍:
一般用集肤深度Δ来表示集肤效应,其表达式为:
其中:γ为导体的电导率,μ为导体的磁导率,f为工作频率。
图1.1.集肤效应产生过程示意图
图1.2.高频导体电路密度分布图
高频时的导体电流密度分布情形,大致如图1.2所示,由表面向中心处的电流密度逐渐减小。
由上图及式1.1可知,当频率愈高时,临界深度将会愈小,结果造成等效阻值上升。因此在高频时,电阻大小随着频率而变的情形,就必须加以考虑进去。
1.2影响及应用
在高频电路中可以采用空心导线代替实心导线。此外,为了削弱趋肤效应,在高频电路中也往往使用多股相互绝缘细导线编织成束来代替同样截面积的粗导线,这种多股线束称为辫线。在工业应用方面,利用趋肤效应可以对金属进行表面淬火。
考虑到交流电的集肤效应,为了有效地利用导体材料和便于散热,发电厂的大电流母线常做成槽形或菱形母线;另外,在高压输配电线路中,利用钢芯铝绞线代替铝绞线,这样既节省了铝导线,又增加了导线的机械强度,这些都是利用了集肤效应这个原理。
集肤效应是在讯号线里最基本的失真作用过程之一,也有可能是最容意被忽略误解的。与一般讯号线的夸大宣传所言,集肤效应并不会改变所有的高频讯号,并且不会造成任何相关动能的损失。正好相反,集肤效应会因传导体的不同成分,在传递高频讯号时有不连贯的现象。同样地,在陈旧的线束传导体上,集肤效应助长讯号电流在多条线束上的交互跳动,对于声音造成刺耳的记号。
2.邻近效应
图2.1表示了邻近效应的产生过程。A、B两导体流过相同方向的电流IA和IB,当电流按图中箭头方向突增时,导体A产生的突变磁通ΦA-B在导体B中产生涡流,使其下表面的电流增大,上表面的电流减少。同样导体B产生的突变磁通ΦB-A在导体A中产生涡流,使其上表面的电流增大,下表面的电流减少。这个现象就是导体之间的邻近效应。
当流过导体的电流相同,导体之间的距离一定时,如果导体之间的相对面积不同,邻近效应使得导体有效截面面积不同。研究表明:导体的相对面积越大则导体有效截面越大,损耗相对较小。
图2.1.临近效应产生过程示意图
图2.2.临近效应示意图
图2.3. 一轴对称模型在频率为20KHz时电流密度的分布图
临近效应与集肤效应是共存的。集肤效应是电流主要集中在导体表面附近,但是沿着导体圆周的电流分布还是均匀的。如果另一根载有反向交流电流的圆柱导体与其相邻,其结果使电流不再对称地分布在导体中,而是比较集中在两导体相对的内侧,形成这种分布的原因可以从电磁场的观点来理解。电源能量主要通过两线之间的空间以电磁波的形式传送给负载,导线内部的电流密度分布与空间的电磁波分布密切相关,两线相对内侧处电磁波能量密度大,传入导线的功率大,故电流密度也较大。如果两导线载有相同方向的交变电流,则情况相反,在两线相对外侧处的电流密度大。
3.导体的边缘效应
Dowall提出了计算两绕组变压器绕组交流电阻的方法,此方法先将圆导体转化为方形,并作如下假设:
①磁场被假定为一维变量,垂直于导体的分量被忽略,并且总磁场强度在每个导体层中为常量;
②绕组被假定为无限长片状导体的一部分,电流密度沿每层导体截面是常数,导体边缘效应被忽略;
③假定磁芯不存在,线圈在整个磁芯宽度方向上均匀分布;
④流过绕组的电压和电流均为正弦波,且线圈无开路。
后来的研究者们对此方法提出了一些修正。事实上,导体的边缘效应对磁性元件的损耗和漏感等有较大的影响。绕组的边缘效应会造成由上述假定所限定的一维绕组损耗计算方法所不能计算的额外损耗。在不同的工作频率下,绕组之间距离不同,造成的交流电阻和漏感不同,对于一个指定的频率,存在一个最佳的距离使得绕组交流电阻最小;绕组在磁芯窗口中的位置对绕组参数也有一定的影响;对于高频变压器,原副边绕组的宽度与绕组损耗和能量的存储也有很大关系:原副边绕组宽度相同时高频变压器可以获得最小的交流电阻和漏感。有关学者对这种边缘效应进行了详细的研究,使用二维有限元仿真软件,通过对磁场分布和电流分布进行分析证明了绕组边缘效应对绕组损耗和漏感的影响。
因为有限元分析方法对每个设计方案都要单独求解,因此不能提供一般的结论,Soft Switching Technologies Corporation的Nasser H.Kutkut对传统的一维绕组损耗计算方法进行了改进,通过在Dowell方法分析结果上添加一些修正因数,则可以将二维的边缘效应考虑进去。使用二维有限元的方法分析绕组的边缘效应损耗,通过研究几何因素如绕组间距、位置等对磁场分布和电流分布的影响,进而得出几何因素对绕组损耗的影响,得出了一系列的绕组优化原则。
在大电流时,铜带的使用是比较常见的,但是铜带使用时会出现较明显的绕组边缘效应,电流变成了不均匀分布的形式,可以想象二维场效应是比较严重的。
在分析铜带绕组的二维边缘效应之前,先做一定的假设:
①假定电流集中在一个趋肤深度内。当铜带导体的厚度是当前工作频率对应的趋肤深度的若干倍时,这一点是成立的。
②假定电流密度沿着铜带导体表面是Js,则铜带厚度方向上电流密度的分布满足式(3.1):
n表示铜带从表面深入到内部的深度,k为结构系数。
在高频的情况下,趋肤深度非常小,导体表面的磁场接近线性磁场,这种情况下,导体表面的电流分布类似于在标量电势作用下的导体表面的静电荷分布,方形铜带问题的分析就可以简化为与之等截面积的椭圆状铜带导体的分析,方形铜带导体和椭圆形铜带导体的截面关系如图3.1所示。
图3.1.铜带的椭圆近似模型分析
使用这种假设条件,则可以得到沿着铜带的电流密度分布为式(3.2)所示:
由式(3.2)可以看出,当x=b或者x=-b时电流密度Js最大。
即铜带在导体的边缘处达到最大值,从磁场分布的角度来看,在铜带导体的边缘处由于边缘效应,磁场垂直于导体的分量会很大,这样就导致了这个磁场分量对铜带导体的切割,铜带绕组的涡流损耗会增大,同时导体边缘处的强磁场会导致电流密度的显著增大。电流分布是在边缘处很强,中间较为平均,由于边缘处受强磁场的吸引,显示高的电流密度,这种电流密度在端部的重新分布增加了导体的交流电阻,其结果比一维分析的要大很多。通过优化铜带边缘的场分布,可以减小边缘处的磁场垂直分量,这样可以改善铜带导体电流密度的分布,减小绕组高频损耗。具体方法是在铜带边缘处使用高磁导率磁芯,减小磁路磁阻,这样就会降低了铜带端部的磁场,减小了端部的电流分布,绕组损耗将会降低,但是需要特殊的磁芯工艺。
4.绕组涡流损耗
对于高频变压器,因为存在原边和副边绕组,所以可以通过绕组交错布置的方式小绕组的漏感和涡流损耗。在绕组交错布置时,因为原、副边绕组的磁势是相反的,此会存在一个去磁效应,磁芯窗口中的磁势会有一定的减小,漏磁场和高频时漏磁场成的导体涡流损耗也会比较小。
对于高频电感而言,它只有一个绕组,磁路中的气隙磁势和绕组的磁势平衡,在窗口中没有其它绕组的磁势可以和电感绕组的磁势相平衡产生去磁效应,因此电感磁芯窗口中的磁势较大,磁场较强。
通过分析可以发现,电感中的磁通主要分为以下几个部分:
①主磁路磁通。这部分磁通是流通在电感磁芯中的磁通,它不会在磁芯窗口中出现,因此它不会切割导体,也不会产生导体损耗。
②气隙边缘磁通,即扩散磁通。这部分磁通是由于气隙磁势而产生,它在磁芯窗口中出现,在高频时会切割窗口中的导体造成涡流损耗。
③旁路磁通。这部分磁通不是由于气隙磁势而产生,而是由于相邻磁芯柱之间的磁势差而产生,当气隙较小时,旁路磁通在窗口磁通中占较大比例。
图4.1. 磁通分布图
4.1旁路磁通损耗
旁路磁通通过磁芯窗口跨过相邻的磁芯柱,在绕组上产生大量的涡流和损耗,气隙的边缘磁通是由于跨过气隙的磁势造成的,而旁路磁通是由于相邻磁芯柱间的磁势差异造成,沿着磁芯柱窗口的磁势分布取决于载流绕组和气隙的位置。沿着磁芯柱磁势随着载流绕组安匝增大而增加,随着跨过气隙而降低。通过做出如下一维假设,可以对旁路磁通作一定的分析。
1.假定磁芯磁导率是无穷的,磁场进入磁芯窗口是垂直于磁芯表面的。
2.绕组添满整个磁芯窗口宽度,绕组边缘效应很小,可忽略。
3.对圆导体进行一维等效,变成一片方导体,使用等效厚度和等效电导率,磁场在磁芯窗口中平行于导体表面,属一维分布。
4.气隙可认为很小,边缘磁通很小,对旁路磁通影响很小,然而无论气隙多么小,边缘磁通都存在,因为气隙磁势是存在的。
图4.1.1 Dowell绕组损耗分析模型
如图4.1.1所示为磁芯窗口中的第m层铜带绕组,其上、下表面的磁场强度分别Hm1和Hm2,则这层铜带绕组的电流分布和绕组损耗可以通过Dowell方程得出,如式(4.1.1)所示:
式中
f是工作频率,σeq是铜带的等效电导率,μ是绕组的磁导率,Aeq和W是等效铜带的厚度和宽度。总的旁路磁通绕组损耗可以通过求和得出,如式(2.1.3)所示:
通过用一维的方式分析旁路磁通可知:绕组的电流密度与沿导体的磁场强度密切相关,不同的气隙位置导致不同的窗口磁势,因此沿导体的磁场强度会有较大的不同,沿导体的电流密度分布也会有较大的不同。
旁路磁通的大小是与磁芯高度方向上的平均磁压降密切相关的。当气隙处于中间与两端时,磁压分布如下图所示:
图4.1.2 EI型(a)和EE(b)型磁芯电感窗口磁势分布
图a中的平均磁压降为IN/2,b为IN/4。
假定旁路磁通与底边平行,又由于B=dU*u0/w,可知,a中的磁密必定大于b中的磁密,磁场方向与线圈垂直。
下面是损耗与平均磁压降的关系:
图4.1.3 损耗随平均磁压降变化图
由图可看出磁压降越低,损耗越低。
由此,如果我们可以将磁压降降得更低,就可得到损耗更低的电感!
图4.1.4 磁压降与气隙位置的关系
由于它将气隙交错布置,使磁压降在高度方向上出现二次转折,仅为IN/8。它的损耗比起气隙居中者可再下降约50%。
因此我们可以知道在电感磁势一定的情况下,EE磁芯窗口中的最大磁势是EI磁芯的一半。磁芯窗口中的最大磁势的减小,有助于减小旁路磁通,进而旁路磁通造成的导体涡流损耗也会减小,所以在选择磁芯时应该引起注意,利用交错气隙可以减少磁芯窗口内的旁路磁通。
4.2扩散磁通损耗
滤波电感工作时输入的电流波形是一个直流分量叠加一个开关频率的纹波,因此在设计电感时为了在磁芯中瞬间存储能量,磁路中需要有一个较大的磁势,因此一般都需要添加气隙。在磁路设计时,因为磁芯(比如铁氧体)和磁绝缘物质(比如空气)之间的磁导率比例系数大约为10^3,因此磁通在磁路中并非完全限制在磁芯中,气隙的存在会使这部分散落在空气中的磁通增加。
在含有气隙的电感中,绕组的磁势和气隙的磁势是平衡的,因为绕组的磁势较大,所以气隙的磁势也较大,而且由于气隙和磁芯的磁导率的差异相对较大,磁势主要降落在气隙上面。绕组磁势和气隙磁势的相对位置的不同会导致不同的气隙边缘磁场分布。
高频电感中气隙的添加方式主要有以下几种:
①采用只在中心柱中添加单气隙的方式。这种方法在磁芯窗口中产生的边缘磁通较大,高频时边缘磁通切割绕组导体,在导体上会产生很大的边缘磁通损耗。由于气隙磁势和整个线圈的安匝数相同,因此单气隙周围的磁场会很强,磁芯窗口中的磁场的二维效应特别严重,尤其是气隙附近。
②采用在三个磁芯柱上都添加气隙的方式。在磁路气隙长度一定的情况下,这种方法由于减小了气隙的尺寸,即每个磁芯柱上气隙长度是中柱单气隙的一半,因此每个气隙的磁势是整个线圈安匝数的一半,气隙磁势的降低大大减小了气隙的边缘磁通,因此边缘磁通在导体上造成的损耗会有较大减小,但是这种方式会造成较大的外部散漏磁场,这部分磁场虽然不会造成电感的额外涡流损耗,但是会对周围器件产生一定的电磁干扰。
③采用分布式气隙的方式,即将中柱的大气隙分割成若干个小气隙,而气隙总长度不变的方式。这种方式会减小气隙边缘磁通,从而对减小电感的涡流损耗有益,但此种磁芯需要特殊加工。
④采用均匀分布式气隙。即磁芯中柱使用低磁导率材料,相当于气隙均匀分布在磁芯中,减小了气隙边缘磁通,但是这种方式磁芯需要特殊加工,低磁导率材料在高频时磁芯损耗会比较大,但是这种方式可减小导体的涡流损耗
图4.2.1所示为三种不同的电感气隙布置方式对边缘磁通分布的影响。气隙放置在中柱上时的磁通分布如图4.2.1 (a)所示,等效气隙放置在中柱和外侧柱时的磁通分布如图4.2.1 (b)所示,磁芯中柱用均匀分布气隙磁芯代替时的磁通分布如图4.2.1 (c)所示,由图可知,4.2.1 (a)中边缘磁场范围较大,4.2.1 (b)中气隙尺寸减小后,边缘磁场范围减小了一些,4.2.1 (c)中的边缘磁场最小。在4.2.1 (c)中由于气隙和绕组的长度基本相同,因此二者磁势的空间分布的不平衡因素最小,使得这种情况下的气隙边缘磁场最弱,窗口磁场的分量基本上是平行于导体的一维分布,类似于变压器中的漏磁场。
在导体中流过高频电流时,气隙边缘磁场也是高频交变的,因此它会在导体中产生很大的涡流损耗,用有限元方法对此分析非常方便。当采用4.2.1(a)中的气隙分布时漏在空气中的磁场较小;而4.2.1 (b)中的散落在空气中的外部磁场较大,对外界电磁污染较大; 4.2.1 (c)中气隙边缘磁场和外部磁场都比较小,使用时应该根据实际要求折衷考虑。
图4.2.1 气隙处于的三种不同位置的电感
我们以气隙至磁芯顶部的距离与磁芯中柱高度之比(hg/h)为变量,可得出气隙在不同位置时电感器损耗变化图如下:
图4.2.1 损耗随气隙位置变化图
由此图可知,气隙在中间时损耗最小,在两端时损耗最大,差别可达100%。这也就是我们通常EE Core用得比EI Core多的一个原因。
扩散磁通与气隙形状有关,与位置关系不大,当然当它在两端时由于磁路长度发生一定变化,还是有所变化的。
减小气隙边缘磁通的方法主要有以下几种:
①通过使导体远离气隙,保持导体和气隙之间有一定的距离来减小气隙边缘磁通的影响,但是磁芯窗口宽度是很有限的,这样做会减小磁芯窗口的利用率。
②将绕组导体放置在磁芯窗口中一个固定的区域中,而这个区域边缘磁通很小,这种方式同样可以减小气隙边缘磁通造成的导体涡流损耗,但是这种方式增加了绕线的复杂性。
③采用分布式气隙或均匀分布气隙。因为在气隙总长度不变的情况下,每个气隙的尺寸得以减小,这种方式可以在很大程度上减小气隙边缘磁通,它附近导体的涡流损耗会有较大的改善,但是这种方式的磁芯需要特殊的加工,比较复杂。同时增加太多的小气隙,对减少绕组的损耗不一定明显。
磁芯和绕组参数同图4.2.2(a)和表1中的三种方案。气隙布置在3个磁芯柱上,每个磁芯柱上的气隙总长为0.6mm,拆分成的小气隙在磁柱上均匀分布,图4.2.5为每个磁柱上6个分布小气隙的示意图。当电感绕组中通过幅值为1A,频率为300kHz的正弦电流时,用Ansoft Maxwell 2D 电磁场有限元软件得到单位长度的绕组损耗随小气隙个数的变化趋势如图4.2.6所示。
图4.2.2 (a)铜箔绕组结构图(b)漆包线绕组结构图
图4.2.3 漆包线绕组和铜箔绕组的磁通分布图
图4.2.4 绕组损耗随气隙间磁柱长度变化的关系图
图4.2.5 多气隙结构图
图4.2.6 绕组损耗与分布气隙个数的关系图
对图4.2.6所示的结果进行分析,刚开始增加气隙的个数,能大大减少绕组的损耗。但气隙的个数增加到6到7个气隙以后,再增加气隙的个数对绕组损耗影响不大。
在方案1中当磁柱上为一个集中气隙时,气隙长度为0.6mm,绕组距磁芯边柱的距离为0.45mm,即绕组距边柱为0.75个气隙长度。当磁柱上为两个小气隙时,气隙长度为0.3mm,绕组距边柱为2个小气隙的距离,从图4.2.6可见此时增加气隙能大大减少绕组的损耗。当磁柱上为4个气隙时,小气隙长度为0.15mm,绕组距边柱为3个小气隙长度,以后再增加气隙的个数,绕组损耗的减少就不多了,当气隙增加到6个时,小气隙长度为0.1mm,绕组距边柱为4.5个小气隙长度,以后再增加气隙的个数,绕组损耗的减少就不明显了。这和绕组应避开气隙3个气隙长度的距离是一致的。因为再增加绕组避开气隙的距离,气隙附近的扩散磁通对绕组的损耗影响就较小了。根据上面的分析,当绕组距气隙的距离增大时,所需的小气隙个数应该减少。在方案2中绕组距气隙的距离为0.65mm,用AnsoftMaxwell 2D 电磁场有限元软件得到单位长度的绕组损耗如图4.2.6所示。可见比方案1可用较少的气隙个数。在方案3中绕组距气隙的距离为0.85mm,用AnsoftMaxwell 2D 电磁场有限元软件得到单位长度的绕组损耗如图4.2.6所示,可见比方案2可用较少的气隙个数。
根据前面的分析,为了减少绕组损耗,小气隙的个数应增加到使绕组距气隙的距离大于3个小气隙。但没有必要增加气隙的个数使绕组距气隙的距离大于5个小气隙的距离,因为此时再增加气隙个数对绕组损耗影响很小。
由以上分析可以得到以下结论:
1)高频磁件绕组的交叉换位技术能够有效降低绕组的交流电阻和漏感;
2)绕组层间距对交流电阻的影响与磁件的结构有关;
3)采用分布气隙可以有效降低气隙扩散磁通的影响, 另外变换气隙的位置及绕组相对气隙的形状, 也可以减小绕组的交流电阻。
4) 气隙设在磁芯窗口的拐角处或其附近,使扩散磁通更容易深入到磁芯窗口内,易导致绕组损耗增加。分别由漆包线和铜箔构成的绕组,电感气隙位置对磁芯窗口内旁路磁通的影响是不同的,最终导致对电感绕组损耗影响的不同。
5) 采用分布小气隙代替集中的大气隙时,当气隙间的磁柱长度约为5个气隙长度左右时,气隙之间的影响较小。
采用较多的分布小气隙代替集中气隙时,小气隙的个数应增加到使绕组距气隙的距离大于3个小气隙。但没有必要增加气隙的个数使绕组距气隙的距离大于5个小气隙,因为此时再增加气隙个数对绕组损耗影响很小。
小结
对磁性元件的绕组进行合理设计, 能够有效地提高磁性元件性能,但是磁性元件的设计是一个复杂的综合过程, 包含非常多的内容, 需要整体、系统地考虑各种因素。
1.集肤效应
1.1集肤效应的原理
图1.1表示了集肤效应的产生过程。图中给出的是载流导体纵向的剖面图,当导体流过电流(如图中箭头方向)时,由右手螺旋法则可知,产生的感应磁动势为逆时针方向,产生进入和离开剖面的磁力线。如果导体中的电流增加,则由于电磁感应效应,导体中产生如图所示方向的涡流。由图可知:涡流的方向加大了导体表面的电流,抵消了中心线电流,这样作用的结果是电流向导体表面聚集,故称为集肤效应。在此引进一个集肤深度〈skin depth〉的概念,此深度的电流密度大小恰好为表面电流密度大小的1/e倍:
一般用集肤深度Δ来表示集肤效应,其表达式为:
其中:γ为导体的电导率,μ为导体的磁导率,f为工作频率。
图1.1.集肤效应产生过程示意图
图1.2.高频导体电路密度分布图
高频时的导体电流密度分布情形,大致如图1.2所示,由表面向中心处的电流密度逐渐减小。
由上图及式1.1可知,当频率愈高时,临界深度将会愈小,结果造成等效阻值上升。因此在高频时,电阻大小随着频率而变的情形,就必须加以考虑进去。
1.2影响及应用
在高频电路中可以采用空心导线代替实心导线。此外,为了削弱趋肤效应,在高频电路中也往往使用多股相互绝缘细导线编织成束来代替同样截面积的粗导线,这种多股线束称为辫线。在工业应用方面,利用趋肤效应可以对金属进行表面淬火。
考虑到交流电的集肤效应,为了有效地利用导体材料和便于散热,发电厂的大电流母线常做成槽形或菱形母线;另外,在高压输配电线路中,利用钢芯铝绞线代替铝绞线,这样既节省了铝导线,又增加了导线的机械强度,这些都是利用了集肤效应这个原理。
集肤效应是在讯号线里最基本的失真作用过程之一,也有可能是最容意被忽略误解的。与一般讯号线的夸大宣传所言,集肤效应并不会改变所有的高频讯号,并且不会造成任何相关动能的损失。正好相反,集肤效应会因传导体的不同成分,在传递高频讯号时有不连贯的现象。同样地,在陈旧的线束传导体上,集肤效应助长讯号电流在多条线束上的交互跳动,对于声音造成刺耳的记号。
2.邻近效应
图2.1表示了邻近效应的产生过程。A、B两导体流过相同方向的电流IA和IB,当电流按图中箭头方向突增时,导体A产生的突变磁通ΦA-B在导体B中产生涡流,使其下表面的电流增大,上表面的电流减少。同样导体B产生的突变磁通ΦB-A在导体A中产生涡流,使其上表面的电流增大,下表面的电流减少。这个现象就是导体之间的邻近效应。
当流过导体的电流相同,导体之间的距离一定时,如果导体之间的相对面积不同,邻近效应使得导体有效截面面积不同。研究表明:导体的相对面积越大则导体有效截面越大,损耗相对较小。
图2.1.临近效应产生过程示意图
图2.2.临近效应示意图
图2.3. 一轴对称模型在频率为20KHz时电流密度的分布图
临近效应与集肤效应是共存的。集肤效应是电流主要集中在导体表面附近,但是沿着导体圆周的电流分布还是均匀的。如果另一根载有反向交流电流的圆柱导体与其相邻,其结果使电流不再对称地分布在导体中,而是比较集中在两导体相对的内侧,形成这种分布的原因可以从电磁场的观点来理解。电源能量主要通过两线之间的空间以电磁波的形式传送给负载,导线内部的电流密度分布与空间的电磁波分布密切相关,两线相对内侧处电磁波能量密度大,传入导线的功率大,故电流密度也较大。如果两导线载有相同方向的交变电流,则情况相反,在两线相对外侧处的电流密度大。
3.导体的边缘效应
Dowall提出了计算两绕组变压器绕组交流电阻的方法,此方法先将圆导体转化为方形,并作如下假设:
①磁场被假定为一维变量,垂直于导体的分量被忽略,并且总磁场强度在每个导体层中为常量;
②绕组被假定为无限长片状导体的一部分,电流密度沿每层导体截面是常数,导体边缘效应被忽略;
③假定磁芯不存在,线圈在整个磁芯宽度方向上均匀分布;
④流过绕组的电压和电流均为正弦波,且线圈无开路。
后来的研究者们对此方法提出了一些修正。事实上,导体的边缘效应对磁性元件的损耗和漏感等有较大的影响。绕组的边缘效应会造成由上述假定所限定的一维绕组损耗计算方法所不能计算的额外损耗。在不同的工作频率下,绕组之间距离不同,造成的交流电阻和漏感不同,对于一个指定的频率,存在一个最佳的距离使得绕组交流电阻最小;绕组在磁芯窗口中的位置对绕组参数也有一定的影响;对于高频变压器,原副边绕组的宽度与绕组损耗和能量的存储也有很大关系:原副边绕组宽度相同时高频变压器可以获得最小的交流电阻和漏感。有关学者对这种边缘效应进行了详细的研究,使用二维有限元仿真软件,通过对磁场分布和电流分布进行分析证明了绕组边缘效应对绕组损耗和漏感的影响。
因为有限元分析方法对每个设计方案都要单独求解,因此不能提供一般的结论,Soft Switching Technologies Corporation的Nasser H.Kutkut对传统的一维绕组损耗计算方法进行了改进,通过在Dowell方法分析结果上添加一些修正因数,则可以将二维的边缘效应考虑进去。使用二维有限元的方法分析绕组的边缘效应损耗,通过研究几何因素如绕组间距、位置等对磁场分布和电流分布的影响,进而得出几何因素对绕组损耗的影响,得出了一系列的绕组优化原则。
在大电流时,铜带的使用是比较常见的,但是铜带使用时会出现较明显的绕组边缘效应,电流变成了不均匀分布的形式,可以想象二维场效应是比较严重的。
在分析铜带绕组的二维边缘效应之前,先做一定的假设:
①假定电流集中在一个趋肤深度内。当铜带导体的厚度是当前工作频率对应的趋肤深度的若干倍时,这一点是成立的。
②假定电流密度沿着铜带导体表面是Js,则铜带厚度方向上电流密度的分布满足式(3.1):
n表示铜带从表面深入到内部的深度,k为结构系数。
在高频的情况下,趋肤深度非常小,导体表面的磁场接近线性磁场,这种情况下,导体表面的电流分布类似于在标量电势作用下的导体表面的静电荷分布,方形铜带问题的分析就可以简化为与之等截面积的椭圆状铜带导体的分析,方形铜带导体和椭圆形铜带导体的截面关系如图3.1所示。
图3.1.铜带的椭圆近似模型分析
使用这种假设条件,则可以得到沿着铜带的电流密度分布为式(3.2)所示:
由式(3.2)可以看出,当x=b或者x=-b时电流密度Js最大。
即铜带在导体的边缘处达到最大值,从磁场分布的角度来看,在铜带导体的边缘处由于边缘效应,磁场垂直于导体的分量会很大,这样就导致了这个磁场分量对铜带导体的切割,铜带绕组的涡流损耗会增大,同时导体边缘处的强磁场会导致电流密度的显著增大。电流分布是在边缘处很强,中间较为平均,由于边缘处受强磁场的吸引,显示高的电流密度,这种电流密度在端部的重新分布增加了导体的交流电阻,其结果比一维分析的要大很多。通过优化铜带边缘的场分布,可以减小边缘处的磁场垂直分量,这样可以改善铜带导体电流密度的分布,减小绕组高频损耗。具体方法是在铜带边缘处使用高磁导率磁芯,减小磁路磁阻,这样就会降低了铜带端部的磁场,减小了端部的电流分布,绕组损耗将会降低,但是需要特殊的磁芯工艺。
4.绕组涡流损耗
对于高频变压器,因为存在原边和副边绕组,所以可以通过绕组交错布置的方式小绕组的漏感和涡流损耗。在绕组交错布置时,因为原、副边绕组的磁势是相反的,此会存在一个去磁效应,磁芯窗口中的磁势会有一定的减小,漏磁场和高频时漏磁场成的导体涡流损耗也会比较小。
对于高频电感而言,它只有一个绕组,磁路中的气隙磁势和绕组的磁势平衡,在窗口中没有其它绕组的磁势可以和电感绕组的磁势相平衡产生去磁效应,因此电感磁芯窗口中的磁势较大,磁场较强。
通过分析可以发现,电感中的磁通主要分为以下几个部分:
①主磁路磁通。这部分磁通是流通在电感磁芯中的磁通,它不会在磁芯窗口中出现,因此它不会切割导体,也不会产生导体损耗。
②气隙边缘磁通,即扩散磁通。这部分磁通是由于气隙磁势而产生,它在磁芯窗口中出现,在高频时会切割窗口中的导体造成涡流损耗。
③旁路磁通。这部分磁通不是由于气隙磁势而产生,而是由于相邻磁芯柱之间的磁势差而产生,当气隙较小时,旁路磁通在窗口磁通中占较大比例。
图4.1. 磁通分布图
4.1旁路磁通损耗
旁路磁通通过磁芯窗口跨过相邻的磁芯柱,在绕组上产生大量的涡流和损耗,气隙的边缘磁通是由于跨过气隙的磁势造成的,而旁路磁通是由于相邻磁芯柱间的磁势差异造成,沿着磁芯柱窗口的磁势分布取决于载流绕组和气隙的位置。沿着磁芯柱磁势随着载流绕组安匝增大而增加,随着跨过气隙而降低。通过做出如下一维假设,可以对旁路磁通作一定的分析。
1.假定磁芯磁导率是无穷的,磁场进入磁芯窗口是垂直于磁芯表面的。
2.绕组添满整个磁芯窗口宽度,绕组边缘效应很小,可忽略。
3.对圆导体进行一维等效,变成一片方导体,使用等效厚度和等效电导率,磁场在磁芯窗口中平行于导体表面,属一维分布。
4.气隙可认为很小,边缘磁通很小,对旁路磁通影响很小,然而无论气隙多么小,边缘磁通都存在,因为气隙磁势是存在的。
图4.1.1 Dowell绕组损耗分析模型
如图4.1.1所示为磁芯窗口中的第m层铜带绕组,其上、下表面的磁场强度分别Hm1和Hm2,则这层铜带绕组的电流分布和绕组损耗可以通过Dowell方程得出,如式(4.1.1)所示:
式中
f是工作频率,σeq是铜带的等效电导率,μ是绕组的磁导率,Aeq和W是等效铜带的厚度和宽度。总的旁路磁通绕组损耗可以通过求和得出,如式(2.1.3)所示:
通过用一维的方式分析旁路磁通可知:绕组的电流密度与沿导体的磁场强度密切相关,不同的气隙位置导致不同的窗口磁势,因此沿导体的磁场强度会有较大的不同,沿导体的电流密度分布也会有较大的不同。
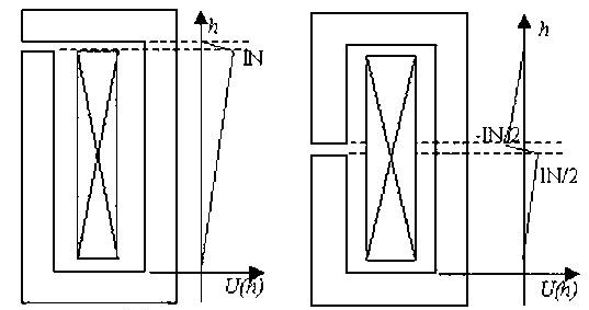
旁路磁通的大小是与磁芯高度方向上的平均磁压降密切相关的。当气隙处于中间与两端时,磁压分布如下图所示:
图4.1.2 EI型(a)和EE(b)型磁芯电感窗口磁势分布
图a中的平均磁压降为IN/2,b为IN/4。
假定旁路磁通与底边平行,又由于B=dU*u0/w,可知,a中的磁密必定大于b中的磁密,磁场方向与线圈垂直。
下面是损耗与平均磁压降的关系:
图4.1.3 损耗随平均磁压降变化图
由图可看出磁压降越低,损耗越低。
由此,如果我们可以将磁压降降得更低,就可得到损耗更低的电感!
图4.1.4 磁压降与气隙位置的关系
由于它将气隙交错布置,使磁压降在高度方向上出现二次转折,仅为IN/8。它的损耗比起气隙居中者可再下降约50%。
因此我们可以知道在电感磁势一定的情况下,EE磁芯窗口中的最大磁势是EI磁芯的一半。磁芯窗口中的最大磁势的减小,有助于减小旁路磁通,进而旁路磁通造成的导体涡流损耗也会减小,所以在选择磁芯时应该引起注意,利用交错气隙可以减少磁芯窗口内的旁路磁通。
4.2扩散磁通损耗
滤波电感工作时输入的电流波形是一个直流分量叠加一个开关频率的纹波,因此在设计电感时为了在磁芯中瞬间存储能量,磁路中需要有一个较大的磁势,因此一般都需要添加气隙。在磁路设计时,因为磁芯(比如铁氧体)和磁绝缘物质(比如空气)之间的磁导率比例系数大约为10^3,因此磁通在磁路中并非完全限制在磁芯中,气隙的存在会使这部分散落在空气中的磁通增加。
在含有气隙的电感中,绕组的磁势和气隙的磁势是平衡的,因为绕组的磁势较大,所以气隙的磁势也较大,而且由于气隙和磁芯的磁导率的差异相对较大,磁势主要降落在气隙上面。绕组磁势和气隙磁势的相对位置的不同会导致不同的气隙边缘磁场分布。
高频电感中气隙的添加方式主要有以下几种:
①采用只在中心柱中添加单气隙的方式。这种方法在磁芯窗口中产生的边缘磁通较大,高频时边缘磁通切割绕组导体,在导体上会产生很大的边缘磁通损耗。由于气隙磁势和整个线圈的安匝数相同,因此单气隙周围的磁场会很强,磁芯窗口中的磁场的二维效应特别严重,尤其是气隙附近。
②采用在三个磁芯柱上都添加气隙的方式。在磁路气隙长度一定的情况下,这种方法由于减小了气隙的尺寸,即每个磁芯柱上气隙长度是中柱单气隙的一半,因此每个气隙的磁势是整个线圈安匝数的一半,气隙磁势的降低大大减小了气隙的边缘磁通,因此边缘磁通在导体上造成的损耗会有较大减小,但是这种方式会造成较大的外部散漏磁场,这部分磁场虽然不会造成电感的额外涡流损耗,但是会对周围器件产生一定的电磁干扰。
③采用分布式气隙的方式,即将中柱的大气隙分割成若干个小气隙,而气隙总长度不变的方式。这种方式会减小气隙边缘磁通,从而对减小电感的涡流损耗有益,但此种磁芯需要特殊加工。
④采用均匀分布式气隙。即磁芯中柱使用低磁导率材料,相当于气隙均匀分布在磁芯中,减小了气隙边缘磁通,但是这种方式磁芯需要特殊加工,低磁导率材料在高频时磁芯损耗会比较大,但是这种方式可减小导体的涡流损耗
图4.2.1所示为三种不同的电感气隙布置方式对边缘磁通分布的影响。气隙放置在中柱上时的磁通分布如图4.2.1 (a)所示,等效气隙放置在中柱和外侧柱时的磁通分布如图4.2.1 (b)所示,磁芯中柱用均匀分布气隙磁芯代替时的磁通分布如图4.2.1 (c)所示,由图可知,4.2.1 (a)中边缘磁场范围较大,4.2.1 (b)中气隙尺寸减小后,边缘磁场范围减小了一些,4.2.1 (c)中的边缘磁场最小。在4.2.1 (c)中由于气隙和绕组的长度基本相同,因此二者磁势的空间分布的不平衡因素最小,使得这种情况下的气隙边缘磁场最弱,窗口磁场的分量基本上是平行于导体的一维分布,类似于变压器中的漏磁场。
在导体中流过高频电流时,气隙边缘磁场也是高频交变的,因此它会在导体中产生很大的涡流损耗,用有限元方法对此分析非常方便。当采用4.2.1(a)中的气隙分布时漏在空气中的磁场较小;而4.2.1 (b)中的散落在空气中的外部磁场较大,对外界电磁污染较大; 4.2.1 (c)中气隙边缘磁场和外部磁场都比较小,使用时应该根据实际要求折衷考虑。
图4.2.1 气隙处于的三种不同位置的电感
我们以气隙至磁芯顶部的距离与磁芯中柱高度之比(hg/h)为变量,可得出气隙在不同位置时电感器损耗变化图如下:
图4.2.1 损耗随气隙位置变化图
由此图可知,气隙在中间时损耗最小,在两端时损耗最大,差别可达100%。这也就是我们通常EE Core用得比EI Core多的一个原因。
扩散磁通与气隙形状有关,与位置关系不大,当然当它在两端时由于磁路长度发生一定变化,还是有所变化的。
减小气隙边缘磁通的方法主要有以下几种:
①通过使导体远离气隙,保持导体和气隙之间有一定的距离来减小气隙边缘磁通的影响,但是磁芯窗口宽度是很有限的,这样做会减小磁芯窗口的利用率。
②将绕组导体放置在磁芯窗口中一个固定的区域中,而这个区域边缘磁通很小,这种方式同样可以减小气隙边缘磁通造成的导体涡流损耗,但是这种方式增加了绕线的复杂性。
③采用分布式气隙或均匀分布气隙。因为在气隙总长度不变的情况下,每个气隙的尺寸得以减小,这种方式可以在很大程度上减小气隙边缘磁通,它附近导体的涡流损耗会有较大的改善,但是这种方式的磁芯需要特殊的加工,比较复杂。同时增加太多的小气隙,对减少绕组的损耗不一定明显。
磁芯和绕组参数同图4.2.2(a)和表1中的三种方案。气隙布置在3个磁芯柱上,每个磁芯柱上的气隙总长为0.6mm,拆分成的小气隙在磁柱上均匀分布,图4.2.5为每个磁柱上6个分布小气隙的示意图。当电感绕组中通过幅值为1A,频率为300kHz的正弦电流时,用Ansoft Maxwell 2D 电磁场有限元软件得到单位长度的绕组损耗随小气隙个数的变化趋势如图4.2.6所示。
图4.2.2 (a)铜箔绕组结构图(b)漆包线绕组结构图
图4.2.3 漆包线绕组和铜箔绕组的磁通分布图
图4.2.4 绕组损耗随气隙间磁柱长度变化的关系图
图4.2.5 多气隙结构图
图4.2.6 绕组损耗与分布气隙个数的关系图
对图4.2.6所示的结果进行分析,刚开始增加气隙的个数,能大大减少绕组的损耗。但气隙的个数增加到6到7个气隙以后,再增加气隙的个数对绕组损耗影响不大。
在方案1中当磁柱上为一个集中气隙时,气隙长度为0.6mm,绕组距磁芯边柱的距离为0.45mm,即绕组距边柱为0.75个气隙长度。当磁柱上为两个小气隙时,气隙长度为0.3mm,绕组距边柱为2个小气隙的距离,从图4.2.6可见此时增加气隙能大大减少绕组的损耗。当磁柱上为4个气隙时,小气隙长度为0.15mm,绕组距边柱为3个小气隙长度,以后再增加气隙的个数,绕组损耗的减少就不多了,当气隙增加到6个时,小气隙长度为0.1mm,绕组距边柱为4.5个小气隙长度,以后再增加气隙的个数,绕组损耗的减少就不明显了。这和绕组应避开气隙3个气隙长度的距离是一致的。因为再增加绕组避开气隙的距离,气隙附近的扩散磁通对绕组的损耗影响就较小了。根据上面的分析,当绕组距气隙的距离增大时,所需的小气隙个数应该减少。在方案2中绕组距气隙的距离为0.65mm,用AnsoftMaxwell 2D 电磁场有限元软件得到单位长度的绕组损耗如图4.2.6所示。可见比方案1可用较少的气隙个数。在方案3中绕组距气隙的距离为0.85mm,用AnsoftMaxwell 2D 电磁场有限元软件得到单位长度的绕组损耗如图4.2.6所示,可见比方案2可用较少的气隙个数。
根据前面的分析,为了减少绕组损耗,小气隙的个数应增加到使绕组距气隙的距离大于3个小气隙。但没有必要增加气隙的个数使绕组距气隙的距离大于5个小气隙的距离,因为此时再增加气隙个数对绕组损耗影响很小。
由以上分析可以得到以下结论:
1)高频磁件绕组的交叉换位技术能够有效降低绕组的交流电阻和漏感;
2)绕组层间距对交流电阻的影响与磁件的结构有关;
3)采用分布气隙可以有效降低气隙扩散磁通的影响, 另外变换气隙的位置及绕组相对气隙的形状, 也可以减小绕组的交流电阻。
4) 气隙设在磁芯窗口的拐角处或其附近,使扩散磁通更容易深入到磁芯窗口内,易导致绕组损耗增加。分别由漆包线和铜箔构成的绕组,电感气隙位置对磁芯窗口内旁路磁通的影响是不同的,最终导致对电感绕组损耗影响的不同。
5) 采用分布小气隙代替集中的大气隙时,当气隙间的磁柱长度约为5个气隙长度左右时,气隙之间的影响较小。
采用较多的分布小气隙代替集中气隙时,小气隙的个数应增加到使绕组距气隙的距离大于3个小气隙。但没有必要增加气隙的个数使绕组距气隙的距离大于5个小气隙,因为此时再增加气隙个数对绕组损耗影响很小。
小结
对磁性元件的绕组进行合理设计, 能够有效地提高磁性元件性能,但是磁性元件的设计是一个复杂的综合过程, 包含非常多的内容, 需要整体、系统地考虑各种因素。
1.集肤效应
1.1集肤效应的原理
图1.1表示了集肤效应的产生过程。图中给出的是载流导体纵向的剖面图,当导体流过电流(如图中箭头方向)时,由右手螺旋法则可知,产生的感应磁动势为逆时针方向,产生进入和离开剖面的磁力线。如果导体中的电流增加,则由于电磁感应效应,导体中产生如图所示方向的涡流。由图可知:涡流的方向加大了导体表面的电流,抵消了中心线电流,这样作用的结果是电流向导体表面聚集,故称为集肤效应。在此引进一个集肤深度〈skin depth〉的概念,此深度的电流密度大小恰好为表面电流密度大小的1/e倍:
一般用集肤深度Δ来表示集肤效应,其表达式为:
其中:γ为导体的电导率,μ为导体的磁导率,f为工作频率。
图1.1.集肤效应产生过程示意图
图1.2.高频导体电路密度分布图
高频时的导体电流密度分布情形,大致如图1.2所示,由表面向中心处的电流密度逐渐减小。
由上图及式1.1可知,当频率愈高时,临界深度将会愈小,结果造成等效阻值上升。因此在高频时,电阻大小随着频率而变的情形,就必须加以考虑进去。
1.2影响及应用
在高频电路中可以采用空心导线代替实心导线。此外,为了削弱趋肤效应,在高频电路中也往往使用多股相互绝缘细导线编织成束来代替同样截面积的粗导线,这种多股线束称为辫线。在工业应用方面,利用趋肤效应可以对金属进行表面淬火。
考虑到交流电的集肤效应,为了有效地利用导体材料和便于散热,发电厂的大电流母线常做成槽形或菱形母线;另外,在高压输配电线路中,利用钢芯铝绞线代替铝绞线,这样既节省了铝导线,又增加了导线的机械强度,这些都是利用了集肤效应这个原理。
集肤效应是在讯号线里最基本的失真作用过程之一,也有可能是最容意被忽略误解的。与一般讯号线的夸大宣传所言,集肤效应并不会改变所有的高频讯号,并且不会造成任何相关动能的损失。正好相反,集肤效应会因传导体的不同成分,在传递高频讯号时有不连贯的现象。同样地,在陈旧的线束传导体上,集肤效应助长讯号电流在多条线束上的交互跳动,对于声音造成刺耳的记号。
2.邻近效应
图2.1表示了邻近效应的产生过程。A、B两导体流过相同方向的电流IA和IB,当电流按图中箭头方向突增时,导体A产生的突变磁通ΦA-B在导体B中产生涡流,使其下表面的电流增大,上表面的电流减少。同样导体B产生的突变磁通ΦB-A在导体A中产生涡流,使其上表面的电流增大,下表面的电流减少。这个现象就是导体之间的邻近效应。
当流过导体的电流相同,导体之间的距离一定时,如果导体之间的相对面积不同,邻近效应使得导体有效截面面积不同。研究表明:导体的相对面积越大则导体有效截面越大,损耗相对较小。
图2.1.临近效应产生过程示意图
图2.2.临近效应示意图
图2.3. 一轴对称模型在频率为20KHz时电流密度的分布图
临近效应与集肤效应是共存的。集肤效应是电流主要集中在导体表面附近,但是沿着导体圆周的电流分布还是均匀的。如果另一根载有反向交流电流的圆柱导体与其相邻,其结果使电流不再对称地分布在导体中,而是比较集中在两导体相对的内侧,形成这种分布的原因可以从电磁场的观点来理解。电源能量主要通过两线之间的空间以电磁波的形式传送给负载,导线内部的电流密度分布与空间的电磁波分布密切相关,两线相对内侧处电磁波能量密度大,传入导线的功率大,故电流密度也较大。如果两导线载有相同方向的交变电流,则情况相反,在两线相对外侧处的电流密度大。
3.导体的边缘效应
Dowall提出了计算两绕组变压器绕组交流电阻的方法,此方法先将圆导体转化为方形,并作如下假设:
①磁场被假定为一维变量,垂直于导体的分量被忽略,并且总磁场强度在每个导体层中为常量;
②绕组被假定为无限长片状导体的一部分,电流密度沿每层导体截面是常数,导体边缘效应被忽略;
③假定磁芯不存在,线圈在整个磁芯宽度方向上均匀分布;
④流过绕组的电压和电流均为正弦波,且线圈无开路。
后来的研究者们对此方法提出了一些修正。事实上,导体的边缘效应对磁性元件的损耗和漏感等有较大的影响。绕组的边缘效应会造成由上述假定所限定的一维绕组损耗计算方法所不能计算的额外损耗。在不同的工作频率下,绕组之间距离不同,造成的交流电阻和漏感不同,对于一个指定的频率,存在一个最佳的距离使得绕组交流电阻最小;绕组在磁芯窗口中的位置对绕组参数也有一定的影响;对于高频变压器,原副边绕组的宽度与绕组损耗和能量的存储也有很大关系:原副边绕组宽度相同时高频变压器可以获得最小的交流电阻和漏感。有关学者对这种边缘效应进行了详细的研究,使用二维有限元仿真软件,通过对磁场分布和电流分布进行分析证明了绕组边缘效应对绕组损耗和漏感的影响。
因为有限元分析方法对每个设计方案都要单独求解,因此不能提供一般的结论,Soft Switching Technologies Corporation的Nasser H.Kutkut对传统的一维绕组损耗计算方法进行了改进,通过在Dowell方法分析结果上添加一些修正因数,则可以将二维的边缘效应考虑进去。使用二维有限元的方法分析绕组的边缘效应损耗,通过研究几何因素如绕组间距、位置等对磁场分布和电流分布的影响,进而得出几何因素对绕组损耗的影响,得出了一系列的绕组优化原则。
在大电流时,铜带的使用是比较常见的,但是铜带使用时会出现较明显的绕组边缘效应,电流变成了不均匀分布的形式,可以想象二维场效应是比较严重的。
在分析铜带绕组的二维边缘效应之前,先做一定的假设:
①假定电流集中在一个趋肤深度内。当铜带导体的厚度是当前工作频率对应的趋肤深度的若干倍时,这一点是成立的。
②假定电流密度沿着铜带导体表面是Js,则铜带厚度方向上电流密度的分布满足式(3.1):
n表示铜带从表面深入到内部的深度,k为结构系数。
在高频的情况下,趋肤深度非常小,导体表面的磁场接近线性磁场,这种情况下,导体表面的电流分布类似于在标量电势作用下的导体表面的静电荷分布,方形铜带问题的分析就可以简化为与之等截面积的椭圆状铜带导体的分析,方形铜带导体和椭圆形铜带导体的截面关系如图3.1所示。
图3.1.铜带的椭圆近似模型分析
使用这种假设条件,则可以得到沿着铜带的电流密度分布为式(3.2)所示:
由式(3.2)可以看出,当x=b或者x=-b时电流密度Js最大。
即铜带在导体的边缘处达到最大值,从磁场分布的角度来看,在铜带导体的边缘处由于边缘效应,磁场垂直于导体的分量会很大,这样就导致了这个磁场分量对铜带导体的切割,铜带绕组的涡流损耗会增大,同时导体边缘处的强磁场会导致电流密度的显著增大。电流分布是在边缘处很强,中间较为平均,由于边缘处受强磁场的吸引,显示高的电流密度,这种电流密度在端部的重新分布增加了导体的交流电阻,其结果比一维分析的要大很多。通过优化铜带边缘的场分布,可以减小边缘处的磁场垂直分量,这样可以改善铜带导体电流密度的分布,减小绕组高频损耗。具体方法是在铜带边缘处使用高磁导率磁芯,减小磁路磁阻,这样就会降低了铜带端部的磁场,减小了端部的电流分布,绕组损耗将会降低,但是需要特殊的磁芯工艺。
4.绕组涡流损耗
对于高频变压器,因为存在原边和副边绕组,所以可以通过绕组交错布置的方式小绕组的漏感和涡流损耗。在绕组交错布置时,因为原、副边绕组的磁势是相反的,此会存在一个去磁效应,磁芯窗口中的磁势会有一定的减小,漏磁场和高频时漏磁场成的导体涡流损耗也会比较小。
对于高频电感而言,它只有一个绕组,磁路中的气隙磁势和绕组的磁势平衡,在窗口中没有其它绕组的磁势可以和电感绕组的磁势相平衡产生去磁效应,因此电感磁芯窗口中的磁势较大,磁场较强。
通过分析可以发现,电感中的磁通主要分为以下几个部分:
①主磁路磁通。这部分磁通是流通在电感磁芯中的磁通,它不会在磁芯窗口中出现,因此它不会切割导体,也不会产生导体损耗。
②气隙边缘磁通,即扩散磁通。这部分磁通是由于气隙磁势而产生,它在磁芯窗口中出现,在高频时会切割窗口中的导体造成涡流损耗。
③旁路磁通。这部分磁通不是由于气隙磁势而产生,而是由于相邻磁芯柱之间的磁势差而产生,当气隙较小时,旁路磁通在窗口磁通中占较大比例。
图4.1. 磁通分布图
4.1旁路磁通损耗
旁路磁通通过磁芯窗口跨过相邻的磁芯柱,在绕组上产生大量的涡流和损耗,气隙的边缘磁通是由于跨过气隙的磁势造成的,而旁路磁通是由于相邻磁芯柱间的磁势差异造成,沿着磁芯柱窗口的磁势分布取决于载流绕组和气隙的位置。沿着磁芯柱磁势随着载流绕组安匝增大而增加,随着跨过气隙而降低。通过做出如下一维假设,可以对旁路磁通作一定的分析。
1.假定磁芯磁导率是无穷的,磁场进入磁芯窗口是垂直于磁芯表面的。
2.绕组添满整个磁芯窗口宽度,绕组边缘效应很小,可忽略。
3.对圆导体进行一维等效,变成一片方导体,使用等效厚度和等效电导率,磁场在磁芯窗口中平行于导体表面,属一维分布。
4.气隙可认为很小,边缘磁通很小,对旁路磁通影响很小,然而无论气隙多么小,边缘磁通都存在,因为气隙磁势是存在的。
图4.1.1 Dowell绕组损耗分析模型
如图4.1.1所示为磁芯窗口中的第m层铜带绕组,其上、下表面的磁场强度分别Hm1和Hm2,则这层铜带绕组的电流分布和绕组损耗可以通过Dowell方程得出,如式(4.1.1)所示:
式中
f是工作频率,σeq是铜带的等效电导率,μ是绕组的磁导率,Aeq和W是等效铜带的厚度和宽度。总的旁路磁通绕组损耗可以通过求和得出,如式(2.1.3)所示:
通过用一维的方式分析旁路磁通可知:绕组的电流密度与沿导体的磁场强度密切相关,不同的气隙位置导致不同的窗口磁势,因此沿导体的磁场强度会有较大的不同,沿导体的电流密度分布也会有较大的不同。
旁路磁通的大小是与磁芯高度方向上的平均磁压降密切相关的。当气隙处于中间与两端时,磁压分布如下图所示:
图4.1.2 EI型(a)和EE(b)型磁芯电感窗口磁势分布
图a中的平均磁压降为IN/2,b为IN/4。
假定旁路磁通与底边平行,又由于B=dU*u0/w,可知,a中的磁密必定大于b中的磁密,磁场方向与线圈垂直。
下面是损耗与平均磁压降的关系:
图4.1.3 损耗随平均磁压降变化图
由图可看出磁压降越低,损耗越低。
由此,如果我们可以将磁压降降得更低,就可得到损耗更低的电感!
图4.1.4 磁压降与气隙位置的关系
由于它将气隙交错布置,使磁压降在高度方向上出现二次转折,仅为IN/8。它的损耗比起气隙居中者可再下降约50%。
因此我们可以知道在电感磁势一定的情况下,EE磁芯窗口中的最大磁势是EI磁芯的一半。磁芯窗口中的最大磁势的减小,有助于减小旁路磁通,进而旁路磁通造成的导体涡流损耗也会减小,所以在选择磁芯时应该引起注意,利用交错气隙可以减少磁芯窗口内的旁路磁通。
4.2扩散磁通损耗
滤波电感工作时输入的电流波形是一个直流分量叠加一个开关频率的纹波,因此在设计电感时为了在磁芯中瞬间存储能量,磁路中需要有一个较大的磁势,因此一般都需要添加气隙。在磁路设计时,因为磁芯(比如铁氧体)和磁绝缘物质(比如空气)之间的磁导率比例系数大约为10^3,因此磁通在磁路中并非完全限制在磁芯中,气隙的存在会使这部分散落在空气中的磁通增加。
在含有气隙的电感中,绕组的磁势和气隙的磁势是平衡的,因为绕组的磁势较大,所以气隙的磁势也较大,而且由于气隙和磁芯的磁导率的差异相对较大,磁势主要降落在气隙上面。绕组磁势和气隙磁势的相对位置的不同会导致不同的气隙边缘磁场分布。
高频电感中气隙的添加方式主要有以下几种:
①采用只在中心柱中添加单气隙的方式。这种方法在磁芯窗口中产生的边缘磁通较大,高频时边缘磁通切割绕组导体,在导体上会产生很大的边缘磁通损耗。由于气隙磁势和整个线圈的安匝数相同,因此单气隙周围的磁场会很强,磁芯窗口中的磁场的二维效应特别严重,尤其是气隙附近。
②采用在三个磁芯柱上都添加气隙的方式。在磁路气隙长度一定的情况下,这种方法由于减小了气隙的尺寸,即每个磁芯柱上气隙长度是中柱单气隙的一半,因此每个气隙的磁势是整个线圈安匝数的一半,气隙磁势的降低大大减小了气隙的边缘磁通,因此边缘磁通在导体上造成的损耗会有较大减小,但是这种方式会造成较大的外部散漏磁场,这部分磁场虽然不会造成电感的额外涡流损耗,但是会对周围器件产生一定的电磁干扰。
③采用分布式气隙的方式,即将中柱的大气隙分割成若干个小气隙,而气隙总长度不变的方式。这种方式会减小气隙边缘磁通,从而对减小电感的涡流损耗有益,但此种磁芯需要特殊加工。
④采用均匀分布式气隙。即磁芯中柱使用低磁导率材料,相当于气隙均匀分布在磁芯中,减小了气隙边缘磁通,但是这种方式磁芯需要特殊加工,低磁导率材料在高频时磁芯损耗会比较大,但是这种方式可减小导体的涡流损耗
图4.2.1所示为三种不同的电感气隙布置方式对边缘磁通分布的影响。气隙放置在中柱上时的磁通分布如图4.2.1 (a)所示,等效气隙放置在中柱和外侧柱时的磁通分布如图4.2.1 (b)所示,磁芯中柱用均匀分布气隙磁芯代替时的磁通分布如图4.2.1 (c)所示,由图可知,4.2.1 (a)中边缘磁场范围较大,4.2.1 (b)中气隙尺寸减小后,边缘磁场范围减小了一些,4.2.1 (c)中的边缘磁场最小。在4.2.1 (c)中由于气隙和绕组的长度基本相同,因此二者磁势的空间分布的不平衡因素最小,使得这种情况下的气隙边缘磁场最弱,窗口磁场的分量基本上是平行于导体的一维分布,类似于变压器中的漏磁场。
在导体中流过高频电流时,气隙边缘磁场也是高频交变的,因此它会在导体中产生很大的涡流损耗,用有限元方法对此分析非常方便。当采用4.2.1(a)中的气隙分布时漏在空气中的磁场较小;而4.2.1 (b)中的散落在空气中的外部磁场较大,对外界电磁污染较大; 4.2.1 (c)中气隙边缘磁场和外部磁场都比较小,使用时应该根据实际要求折衷考虑。
图4.2.1 气隙处于的三种不同位置的电感
我们以气隙至磁芯顶部的距离与磁芯中柱高度之比(hg/h)为变量,可得出气隙在不同位置时电感器损耗变化图如下:
图4.2.1 损耗随气隙位置变化图
由此图可知,气隙在中间时损耗最小,在两端时损耗最大,差别可达100%。这也就是我们通常EE Core用得比EI Core多的一个原因。
扩散磁通与气隙形状有关,与位置关系不大,当然当它在两端时由于磁路长度发生一定变化,还是有所变化的。
减小气隙边缘磁通的方法主要有以下几种:
①通过使导体远离气隙,保持导体和气隙之间有一定的距离来减小气隙边缘磁通的影响,但是磁芯窗口宽度是很有限的,这样做会减小磁芯窗口的利用率。
②将绕组导体放置在磁芯窗口中一个固定的区域中,而这个区域边缘磁通很小,这种方式同样可以减小气隙边缘磁通造成的导体涡流损耗,但是这种方式增加了绕线的复杂性。
③采用分布式气隙或均匀分布气隙。因为在气隙总长度不变的情况下,每个气隙的尺寸得以减小,这种方式可以在很大程度上减小气隙边缘磁通,它附近导体的涡流损耗会有较大的改善,但是这种方式的磁芯需要特殊的加工,比较复杂。同时增加太多的小气隙,对减少绕组的损耗不一定明显。
磁芯和绕组参数同图4.2.2(a)和表1中的三种方案。气隙布置在3个磁芯柱上,每个磁芯柱上的气隙总长为0.6mm,拆分成的小气隙在磁柱上均匀分布,图4.2.5为每个磁柱上6个分布小气隙的示意图。当电感绕组中通过幅值为1A,频率为300kHz的正弦电流时,用Ansoft Maxwell 2D 电磁场有限元软件得到单位长度的绕组损耗随小气隙个数的变化趋势如图4.2.6所示。
图4.2.2 (a)铜箔绕组结构图(b)漆包线绕组结构图
图4.2.3 漆包线绕组和铜箔绕组的磁通分布图
图4.2.4 绕组损耗随气隙间磁柱长度变化的关系图
图4.2.5 多气隙结构图
图4.2.6 绕组损耗与分布气隙个数的关系图
对图4.2.6所示的结果进行分析,刚开始增加气隙的个数,能大大减少绕组的损耗。但气隙的个数增加到6到7个气隙以后,再增加气隙的个数对绕组损耗影响不大。
在方案1中当磁柱上为一个集中气隙时,气隙长度为0.6mm,绕组距磁芯边柱的距离为0.45mm,即绕组距边柱为0.75个气隙长度。当磁柱上为两个小气隙时,气隙长度为0.3mm,绕组距边柱为2个小气隙的距离,从图4.2.6可见此时增加气隙能大大减少绕组的损耗。当磁柱上为4个气隙时,小气隙长度为0.15mm,绕组距边柱为3个小气隙长度,以后再增加气隙的个数,绕组损耗的减少就不多了,当气隙增加到6个时,小气隙长度为0.1mm,绕组距边柱为4.5个小气隙长度,以后再增加气隙的个数,绕组损耗的减少就不明显了。这和绕组应避开气隙3个气隙长度的距离是一致的。因为再增加绕组避开气隙的距离,气隙附近的扩散磁通对绕组的损耗影响就较小了。根据上面的分析,当绕组距气隙的距离增大时,所需的小气隙个数应该减少。在方案2中绕组距气隙的距离为0.65mm,用AnsoftMaxwell 2D 电磁场有限元软件得到单位长度的绕组损耗如图4.2.6所示。可见比方案1可用较少的气隙个数。在方案3中绕组距气隙的距离为0.85mm,用AnsoftMaxwell 2D 电磁场有限元软件得到单位长度的绕组损耗如图4.2.6所示,可见比方案2可用较少的气隙个数。
根据前面的分析,为了减少绕组损耗,小气隙的个数应增加到使绕组距气隙的距离大于3个小气隙。但没有必要增加气隙的个数使绕组距气隙的距离大于5个小气隙的距离,因为此时再增加气隙个数对绕组损耗影响很小。
由以上分析可以得到以下结论:
1)高频磁件绕组的交叉换位技术能够有效降低绕组的交流电阻和漏感;
2)绕组层间距对交流电阻的影响与磁件的结构有关;
3)采用分布气隙可以有效降低气隙扩散磁通的影响, 另外变换气隙的位置及绕组相对气隙的形状, 也可以减小绕组的交流电阻。
4) 气隙设在磁芯窗口的拐角处或其附近,使扩散磁通更容易深入到磁芯窗口内,易导致绕组损耗增加。分别由漆包线和铜箔构成的绕组,电感气隙位置对磁芯窗口内旁路磁通的影响是不同的,最终导致对电感绕组损耗影响的不同。
5) 采用分布小气隙代替集中的大气隙时,当气隙间的磁柱长度约为5个气隙长度左右时,气隙之间的影响较小。
采用较多的分布小气隙代替集中气隙时,小气隙的个数应增加到使绕组距气隙的距离大于3个小气隙。但没有必要增加气隙的个数使绕组距气隙的距离大于5个小气隙,因为此时再增加气隙个数对绕组损耗影响很小。
小结
对磁性元件的绕组进行合理设计, 能够有效地提高磁性元件性能,但是磁性元件的设计是一个复杂的综合过程, 包含非常多的内容, 需要整体、系统地考虑各种因素。
1.集肤效应
1.1集肤效应的原理
图1.1表示了集肤效应的产生过程。图中给出的是载流导体纵向的剖面图,当导体流过电流(如图中箭头方向)时,由右手螺旋法则可知,产生的感应磁动势为逆时针方向,产生进入和离开剖面的磁力线。如果导体中的电流增加,则由于电磁感应效应,导体中产生如图所示方向的涡流。由图可知:涡流的方向加大了导体表面的电流,抵消了中心线电流,这样作用的结果是电流向导体表面聚集,故称为集肤效应。在此引进一个集肤深度〈skin depth〉的概念,此深度的电流密度大小恰好为表面电流密度大小的1/e倍:
一般用集肤深度Δ来表示集肤效应,其表达式为:
其中:γ为导体的电导率,μ为导体的磁导率,f为工作频率。
图1.1.集肤效应产生过程示意图
图1.2.高频导体电路密度分布图
高频时的导体电流密度分布情形,大致如图1.2所示,由表面向中心处的电流密度逐渐减小。
由上图及式1.1可知,当频率愈高时,临界深度将会愈小,结果造成等效阻值上升。因此在高频时,电阻大小随着频率而变的情形,就必须加以考虑进去。
1.2影响及应用
在高频电路中可以采用空心导线代替实心导线。此外,为了削弱趋肤效应,在高频电路中也往往使用多股相互绝缘细导线编织成束来代替同样截面积的粗导线,这种多股线束称为辫线。在工业应用方面,利用趋肤效应可以对金属进行表面淬火。
考虑到交流电的集肤效应,为了有效地利用导体材料和便于散热,发电厂的大电流母线常做成槽形或菱形母线;另外,在高压输配电线路中,利用钢芯铝绞线代替铝绞线,这样既节省了铝导线,又增加了导线的机械强度,这些都是利用了集肤效应这个原理。
集肤效应是在讯号线里最基本的失真作用过程之一,也有可能是最容意被忽略误解的。与一般讯号线的夸大宣传所言,集肤效应并不会改变所有的高频讯号,并且不会造成任何相关动能的损失。正好相反,集肤效应会因传导体的不同成分,在传递高频讯号时有不连贯的现象。同样地,在陈旧的线束传导体上,集肤效应助长讯号电流在多条线束上的交互跳动,对于声音造成刺耳的记号。
2.邻近效应
图2.1表示了邻近效应的产生过程。A、B两导体流过相同方向的电流IA和IB,当电流按图中箭头方向突增时,导体A产生的突变磁通ΦA-B在导体B中产生涡流,使其下表面的电流增大,上表面的电流减少。同样导体B产生的突变磁通ΦB-A在导体A中产生涡流,使其上表面的电流增大,下表面的电流减少。这个现象就是导体之间的邻近效应。
当流过导体的电流相同,导体之间的距离一定时,如果导体之间的相对面积不同,邻近效应使得导体有效截面面积不同。研究表明:导体的相对面积越大则导体有效截面越大,损耗相对较小。
图2.1.临近效应产生过程示意图
图2.2.临近效应示意图
图2.3. 一轴对称模型在频率为20KHz时电流密度的分布图
临近效应与集肤效应是共存的。集肤效应是电流主要集中在导体表面附近,但是沿着导体圆周的电流分布还是均匀的。如果另一根载有反向交流电流的圆柱导体与其相邻,其结果使电流不再对称地分布在导体中,而是比较集中在两导体相对的内侧,形成这种分布的原因可以从电磁场的观点来理解。电源能量主要通过两线之间的空间以电磁波的形式传送给负载,导线内部的电流密度分布与空间的电磁波分布密切相关,两线相对内侧处电磁波能量密度大,传入导线的功率大,故电流密度也较大。如果两导线载有相同方向的交变电流,则情况相反,在两线相对外侧处的电流密度大。
3.导体的边缘效应
Dowall提出了计算两绕组变压器绕组交流电阻的方法,此方法先将圆导体转化为方形,并作如下假设:
①磁场被假定为一维变量,垂直于导体的分量被忽略,并且总磁场强度在每个导体层中为常量;
②绕组被假定为无限长片状导体的一部分,电流密度沿每层导体截面是常数,导体边缘效应被忽略;
③假定磁芯不存在,线圈在整个磁芯宽度方向上均匀分布;
④流过绕组的电压和电流均为正弦波,且线圈无开路。
后来的研究者们对此方法提出了一些修正。事实上,导体的边缘效应对磁性元件的损耗和漏感等有较大的影响。绕组的边缘效应会造成由上述假定所限定的一维绕组损耗计算方法所不能计算的额外损耗。在不同的工作频率下,绕组之间距离不同,造成的交流电阻和漏感不同,对于一个指定的频率,存在一个最佳的距离使得绕组交流电阻最小;绕组在磁芯窗口中的位置对绕组参数也有一定的影响;对于高频变压器,原副边绕组的宽度与绕组损耗和能量的存储也有很大关系:原副边绕组宽度相同时高频变压器可以获得最小的交流电阻和漏感。有关学者对这种边缘效应进行了详细的研究,使用二维有限元仿真软件,通过对磁场分布和电流分布进行分析证明了绕组边缘效应对绕组损耗和漏感的影响。
因为有限元分析方法对每个设计方案都要单独求解,因此不能提供一般的结论,Soft Switching Technologies Corporation的Nasser H.Kutkut对传统的一维绕组损耗计算方法进行了改进,通过在Dowell方法分析结果上添加一些修正因数,则可以将二维的边缘效应考虑进去。使用二维有限元的方法分析绕组的边缘效应损耗,通过研究几何因素如绕组间距、位置等对磁场分布和电流分布的影响,进而得出几何因素对绕组损耗的影响,得出了一系列的绕组优化原则。
在大电流时,铜带的使用是比较常见的,但是铜带使用时会出现较明显的绕组边缘效应,电流变成了不均匀分布的形式,可以想象二维场效应是比较严重的。
在分析铜带绕组的二维边缘效应之前,先做一定的假设:
①假定电流集中在一个趋肤深度内。当铜带导体的厚度是当前工作频率对应的趋肤深度的若干倍时,这一点是成立的。
②假定电流密度沿着铜带导体表面是Js,则铜带厚度方向上电流密度的分布满足式(3.1):
n表示铜带从表面深入到内部的深度,k为结构系数。
在高频的情况下,趋肤深度非常小,导体表面的磁场接近线性磁场,这种情况下,导体表面的电流分布类似于在标量电势作用下的导体表面的静电荷分布,方形铜带问题的分析就可以简化为与之等截面积的椭圆状铜带导体的分析,方形铜带导体和椭圆形铜带导体的截面关系如图3.1所示。
图3.1.铜带的椭圆近似模型分析
使用这种假设条件,则可以得到沿着铜带的电流密度分布为式(3.2)所示:
由式(3.2)可以看出,当x=b或者x=-b时电流密度Js最大。
即铜带在导体的边缘处达到最大值,从磁场分布的角度来看,在铜带导体的边缘处由于边缘效应,磁场垂直于导体的分量会很大,这样就导致了这个磁场分量对铜带导体的切割,铜带绕组的涡流损耗会增大,同时导体边缘处的强磁场会导致电流密度的显著增大。电流分布是在边缘处很强,中间较为平均,由于边缘处受强磁场的吸引,显示高的电流密度,这种电流密度在端部的重新分布增加了导体的交流电阻,其结果比一维分析的要大很多。通过优化铜带边缘的场分布,可以减小边缘处的磁场垂直分量,这样可以改善铜带导体电流密度的分布,减小绕组高频损耗。具体方法是在铜带边缘处使用高磁导率磁芯,减小磁路磁阻,这样就会降低了铜带端部的磁场,减小了端部的电流分布,绕组损耗将会降低,但是需要特殊的磁芯工艺。
4.绕组涡流损耗
对于高频变压器,因为存在原边和副边绕组,所以可以通过绕组交错布置的方式小绕组的漏感和涡流损耗。在绕组交错布置时,因为原、副边绕组的磁势是相反的,此会存在一个去磁效应,磁芯窗口中的磁势会有一定的减小,漏磁场和高频时漏磁场成的导体涡流损耗也会比较小。
对于高频电感而言,它只有一个绕组,磁路中的气隙磁势和绕组的磁势平衡,在窗口中没有其它绕组的磁势可以和电感绕组的磁势相平衡产生去磁效应,因此电感磁芯窗口中的磁势较大,磁场较强。
通过分析可以发现,电感中的磁通主要分为以下几个部分:
①主磁路磁通。这部分磁通是流通在电感磁芯中的磁通,它不会在磁芯窗口中出现,因此它不会切割导体,也不会产生导体损耗。
②气隙边缘磁通,即扩散磁通。这部分磁通是由于气隙磁势而产生,它在磁芯窗口中出现,在高频时会切割窗口中的导体造成涡流损耗。
③旁路磁通。这部分磁通不是由于气隙磁势而产生,而是由于相邻磁芯柱之间的磁势差而产生,当气隙较小时,旁路磁通在窗口磁通中占较大比例。
图4.1. 磁通分布图
4.1旁路磁通损耗
旁路磁通通过磁芯窗口跨过相邻的磁芯柱,在绕组上产生大量的涡流和损耗,气隙的边缘磁通是由于跨过气隙的磁势造成的,而旁路磁通是由于相邻磁芯柱间的磁势差异造成,沿着磁芯柱窗口的磁势分布取决于载流绕组和气隙的位置。沿着磁芯柱磁势随着载流绕组安匝增大而增加,随着跨过气隙而降低。通过做出如下一维假设,可以对旁路磁通作一定的分析。
1.假定磁芯磁导率是无穷的,磁场进入磁芯窗口是垂直于磁芯表面的。
2.绕组添满整个磁芯窗口宽度,绕组边缘效应很小,可忽略。
3.对圆导体进行一维等效,变成一片方导体,使用等效厚度和等效电导率,磁场在磁芯窗口中平行于导体表面,属一维分布。
4.气隙可认为很小,边缘磁通很小,对旁路磁通影响很小,然而无论气隙多么小,边缘磁通都存在,因为气隙磁势是存在的。
图4.1.1 Dowell绕组损耗分析模型
如图4.1.1所示为磁芯窗口中的第m层铜带绕组,其上、下表面的磁场强度分别Hm1和Hm2,则这层铜带绕组的电流分布和绕组损耗可以通过Dowell方程得出,如式(4.1.1)所示:
式中
f是工作频率,σeq是铜带的等效电导率,μ是绕组的磁导率,Aeq和W是等效铜带的厚度和宽度。总的旁路磁通绕组损耗可以通过求和得出,如式(2.1.3)所示:
通过用一维的方式分析旁路磁通可知:绕组的电流密度与沿导体的磁场强度密切相关,不同的气隙位置导致不同的窗口磁势,因此沿导体的磁场强度会有较大的不同,沿导体的电流密度分布也会有较大的不同。
旁路磁通的大小是与磁芯高度方向上的平均磁压降密切相关的。当气隙处于中间与两端时,磁压分布如下图所示:
图4.1.2 EI型(a)和EE(b)型磁芯电感窗口磁势分布
图a中的平均磁压降为IN/2,b为IN/4。
假定旁路磁通与底边平行,又由于B=dU*u0/w,可知,a中的磁密必定大于b中的磁密,磁场方向与线圈垂直。
下面是损耗与平均磁压降的关系:
图4.1.3 损耗随平均磁压降变化图
由图可看出磁压降越低,损耗越低。
由此,如果我们可以将磁压降降得更低,就可得到损耗更低的电感!
图4.1.4 磁压降与气隙位置的关系
由于它将气隙交错布置,使磁压降在高度方向上出现二次转折,仅为IN/8。它的损耗比起气隙居中者可再下降约50%。
因此我们可以知道在电感磁势一定的情况下,EE磁芯窗口中的最大磁势是EI磁芯的一半。磁芯窗口中的最大磁势的减小,有助于减小旁路磁通,进而旁路磁通造成的导体涡流损耗也会减小,所以在选择磁芯时应该引起注意,利用交错气隙可以减少磁芯窗口内的旁路磁通。
4.2扩散磁通损耗
滤波电感工作时输入的电流波形是一个直流分量叠加一个开关频率的纹波,因此在设计电感时为了在磁芯中瞬间存储能量,磁路中需要有一个较大的磁势,因此一般都需要添加气隙。在磁路设计时,因为磁芯(比如铁氧体)和磁绝缘物质(比如空气)之间的磁导率比例系数大约为10^3,因此磁通在磁路中并非完全限制在磁芯中,气隙的存在会使这部分散落在空气中的磁通增加。
在含有气隙的电感中,绕组的磁势和气隙的磁势是平衡的,因为绕组的磁势较大,所以气隙的磁势也较大,而且由于气隙和磁芯的磁导率的差异相对较大,磁势主要降落在气隙上面。绕组磁势和气隙磁势的相对位置的不同会导致不同的气隙边缘磁场分布。
高频电感中气隙的添加方式主要有以下几种:
①采用只在中心柱中添加单气隙的方式。这种方法在磁芯窗口中产生的边缘磁通较大,高频时边缘磁通切割绕组导体,在导体上会产生很大的边缘磁通损耗。由于气隙磁势和整个线圈的安匝数相同,因此单气隙周围的磁场会很强,磁芯窗口中的磁场的二维效应特别严重,尤其是气隙附近。
②采用在三个磁芯柱上都添加气隙的方式。在磁路气隙长度一定的情况下,这种方法由于减小了气隙的尺寸,即每个磁芯柱上气隙长度是中柱单气隙的一半,因此每个气隙的磁势是整个线圈安匝数的一半,气隙磁势的降低大大减小了气隙的边缘磁通,因此边缘磁通在导体上造成的损耗会有较大减小,但是这种方式会造成较大的外部散漏磁场,这部分磁场虽然不会造成电感的额外涡流损耗,但是会对周围器件产生一定的电磁干扰。
③采用分布式气隙的方式,即将中柱的大气隙分割成若干个小气隙,而气隙总长度不变的方式。这种方式会减小气隙边缘磁通,从而对减小电感的涡流损耗有益,但此种磁芯需要特殊加工。
④采用均匀分布式气隙。即磁芯中柱使用低磁导率材料,相当于气隙均匀分布在磁芯中,减小了气隙边缘磁通,但是这种方式磁芯需要特殊加工,低磁导率材料在高频时磁芯损耗会比较大,但是这种方式可减小导体的涡流损耗
图4.2.1所示为三种不同的电感气隙布置方式对边缘磁通分布的影响。气隙放置在中柱上时的磁通分布如图4.2.1 (a)所示,等效气隙放置在中柱和外侧柱时的磁通分布如图4.2.1 (b)所示,磁芯中柱用均匀分布气隙磁芯代替时的磁通分布如图4.2.1 (c)所示,由图可知,4.2.1 (a)中边缘磁场范围较大,4.2.1 (b)中气隙尺寸减小后,边缘磁场范围减小了一些,4.2.1 (c)中的边缘磁场最小。在4.2.1 (c)中由于气隙和绕组的长度基本相同,因此二者磁势的空间分布的不平衡因素最小,使得这种情况下的气隙边缘磁场最弱,窗口磁场的分量基本上是平行于导体的一维分布,类似于变压器中的漏磁场。
在导体中流过高频电流时,气隙边缘磁场也是高频交变的,因此它会在导体中产生很大的涡流损耗,用有限元方法对此分析非常方便。当采用4.2.1(a)中的气隙分布时漏在空气中的磁场较小;而4.2.1 (b)中的散落在空气中的外部磁场较大,对外界电磁污染较大; 4.2.1 (c)中气隙边缘磁场和外部磁场都比较小,使用时应该根据实际要求折衷考虑。
图4.2.1 气隙处于的三种不同位置的电感
我们以气隙至磁芯顶部的距离与磁芯中柱高度之比(hg/h)为变量,可得出气隙在不同位置时电感器损耗变化图如下:
图4.2.1 损耗随气隙位置变化图
由此图可知,气隙在中间时损耗最小,在两端时损耗最大,差别可达100%。这也就是我们通常EE Core用得比EI Core多的一个原因。
扩散磁通与气隙形状有关,与位置关系不大,当然当它在两端时由于磁路长度发生一定变化,还是有所变化的。
减小气隙边缘磁通的方法主要有以下几种:
①通过使导体远离气隙,保持导体和气隙之间有一定的距离来减小气隙边缘磁通的影响,但是磁芯窗口宽度是很有限的,这样做会减小磁芯窗口的利用率。
②将绕组导体放置在磁芯窗口中一个固定的区域中,而这个区域边缘磁通很小,这种方式同样可以减小气隙边缘磁通造成的导体涡流损耗,但是这种方式增加了绕线的复杂性。
③采用分布式气隙或均匀分布气隙。因为在气隙总长度不变的情况下,每个气隙的尺寸得以减小,这种方式可以在很大程度上减小气隙边缘磁通,它附近导体的涡流损耗会有较大的改善,但是这种方式的磁芯需要特殊的加工,比较复杂。同时增加太多的小气隙,对减少绕组的损耗不一定明显。
磁芯和绕组参数同图4.2.2(a)和表1中的三种方案。气隙布置在3个磁芯柱上,每个磁芯柱上的气隙总长为0.6mm,拆分成的小气隙在磁柱上均匀分布,图4.2.5为每个磁柱上6个分布小气隙的示意图。当电感绕组中通过幅值为1A,频率为300kHz的正弦电流时,用Ansoft Maxwell 2D 电磁场有限元软件得到单位长度的绕组损耗随小气隙个数的变化趋势如图4.2.6所示。
图4.2.2 (a)铜箔绕组结构图(b)漆包线绕组结构图
图4.2.3 漆包线绕组和铜箔绕组的磁通分布图
图4.2.4 绕组损耗随气隙间磁柱长度变化的关系图
图4.2.5 多气隙结构图
图4.2.6 绕组损耗与分布气隙个数的关系图
对图4.2.6所示的结果进行分析,刚开始增加气隙的个数,能大大减少绕组的损耗。但气隙的个数增加到6到7个气隙以后,再增加气隙的个数对绕组损耗影响不大。
在方案1中当磁柱上为一个集中气隙时,气隙长度为0.6mm,绕组距磁芯边柱的距离为0.45mm,即绕组距边柱为0.75个气隙长度。当磁柱上为两个小气隙时,气隙长度为0.3mm,绕组距边柱为2个小气隙的距离,从图4.2.6可见此时增加气隙能大大减少绕组的损耗。当磁柱上为4个气隙时,小气隙长度为0.15mm,绕组距边柱为3个小气隙长度,以后再增加气隙的个数,绕组损耗的减少就不多了,当气隙增加到6个时,小气隙长度为0.1mm,绕组距边柱为4.5个小气隙长度,以后再增加气隙的个数,绕组损耗的减少就不明显了。这和绕组应避开气隙3个气隙长度的距离是一致的。因为再增加绕组避开气隙的距离,气隙附近的扩散磁通对绕组的损耗影响就较小了。根据上面的分析,当绕组距气隙的距离增大时,所需的小气隙个数应该减少。在方案2中绕组距气隙的距离为0.65mm,用AnsoftMaxwell 2D 电磁场有限元软件得到单位长度的绕组损耗如图4.2.6所示。可见比方案1可用较少的气隙个数。在方案3中绕组距气隙的距离为0.85mm,用AnsoftMaxwell 2D 电磁场有限元软件得到单位长度的绕组损耗如图4.2.6所示,可见比方案2可用较少的气隙个数。
根据前面的分析,为了减少绕组损耗,小气隙的个数应增加到使绕组距气隙的距离大于3个小气隙。但没有必要增加气隙的个数使绕组距气隙的距离大于5个小气隙的距离,因为此时再增加气隙个数对绕组损耗影响很小。
由以上分析可以得到以下结论:
1)高频磁件绕组的交叉换位技术能够有效降低绕组的交流电阻和漏感;
2)绕组层间距对交流电阻的影响与磁件的结构有关;
3)采用分布气隙可以有效降低气隙扩散磁通的影响, 另外变换气隙的位置及绕组相对气隙的形状, 也可以减小绕组的交流电阻。
4) 气隙设在磁芯窗口的拐角处或其附近,使扩散磁通更容易深入到磁芯窗口内,易导致绕组损耗增加。分别由漆包线和铜箔构成的绕组,电感气隙位置对磁芯窗口内旁路磁通的影响是不同的,最终导致对电感绕组损耗影响的不同。
5) 采用分布小气隙代替集中的大气隙时,当气隙间的磁柱长度约为5个气隙长度左右时,气隙之间的影响较小。
采用较多的分布小气隙代替集中气隙时,小气隙的个数应增加到使绕组距气隙的距离大于3个小气隙。但没有必要增加气隙的个数使绕组距气隙的距离大于5个小气隙,因为此时再增加气隙个数对绕组损耗影响很小。
小结
对磁性元件的绕组进行合理设计, 能够有效地提高磁性元件性能,但是磁性元件的设计是一个复杂的综合过程, 包含非常多的内容, 需要整体、系统地考虑各种因素。
1.集肤效应
1.1集肤效应的原理
图1.1表示了集肤效应的产生过程。图中给出的是载流导体纵向的剖面图,当导体流过电流(如图中箭头方向)时,由右手螺旋法则可知,产生的感应磁动势为逆时针方向,产生进入和离开剖面的磁力线。如果导体中的电流增加,则由于电磁感应效应,导体中产生如图所示方向的涡流。由图可知:涡流的方向加大了导体表面的电流,抵消了中心线电流,这样作用的结果是电流向导体表面聚集,故称为集肤效应。在此引进一个集肤深度〈skin depth〉的概念,此深度的电流密度大小恰好为表面电流密度大小的1/e倍:
一般用集肤深度Δ来表示集肤效应,其表达式为:

其中:γ为导体的电导率,μ为导体的磁导率,f为工作频率。

图1.1.集肤效应产生过程示意图

图1.2.高频导体电路密度分布图
高频时的导体电流密度分布情形,大致如图1.2所示,由表面向中心处的电流密度逐渐减小。
由上图及式1.1可知,当频率愈高时,临界深度将会愈小,结果造成等效阻值上升。因此在高频时,电阻大小随着频率而变的情形,就必须加以考虑进去。
1.2影响及应用
在高频电路中可以采用空心导线代替实心导线。此外,为了削弱趋肤效应,在高频电路中也往往使用多股相互绝缘细导线编织成束来代替同样截面积的粗导线,这种多股线束称为辫线。在工业应用方面,利用趋肤效应可以对金属进行表面淬火。
考虑到交流电的集肤效应,为了有效地利用导体材料和便于散热,发电厂的大电流母线常做成槽形或菱形母线;另外,在高压输配电线路中,利用钢芯铝绞线代替铝绞线,这样既节省了铝导线,又增加了导线的机械强度,这些都是利用了集肤效应这个原理。
集肤效应是在讯号线里最基本的失真作用过程之一,也有可能是最容意被忽略误解的。与一般讯号线的夸大宣传所言,集肤效应并不会改变所有的高频讯号,并且不会造成任何相关动能的损失。正好相反,集肤效应会因传导体的不同成分,在传递高频讯号时有不连贯的现象。同样地,在陈旧的线束传导体上,集肤效应助长讯号电流在多条线束上的交互跳动,对于声音造成刺耳的记号。
2.邻近效应
图2.1表示了邻近效应的产生过程。A、B两导体流过相同方向的电流IA和IB,当电流按图中箭头方向突增时,导体A产生的突变磁通ΦA-B在导体B中产生涡流,使其下表面的电流增大,上表面的电流减少。同样导体B产生的突变磁通ΦB-A在导体A中产生涡流,使其上表面的电流增大,下表面的电流减少。这个现象就是导体之间的邻近效应。
当流过导体的电流相同,导体之间的距离一定时,如果导体之间的相对面积不同,邻近效应使得导体有效截面面积不同。研究表明:导体的相对面积越大则导体有效截面越大,损耗相对较小。

图2.1.临近效应产生过程示意图

图2.2.临近效应示意图

图2.3. 一轴对称模型在频率为20KHz时电流密度的分布图
临近效应与集肤效应是共存的。集肤效应是电流主要集中在导体表面附近,但是沿着导体圆周的电流分布还是均匀的。如果另一根载有反向交流电流的圆柱导体与其相邻,其结果使电流不再对称地分布在导体中,而是比较集中在两导体相对的内侧,形成这种分布的原因可以从电磁场的观点来理解。电源能量主要通过两线之间的空间以电磁波的形式传送给负载,导线内部的电流密度分布与空间的电磁波分布密切相关,两线相对内侧处电磁波能量密度大,传入导线的功率大,故电流密度也较大。如果两导线载有相同方向的交变电流,则情况相反,在两线相对外侧处的电流密度大。
3.导体的边缘效应
Dowall提出了计算两绕组变压器绕组交流电阻的方法,此方法先将圆导体转化为方形,并作如下假设:
①磁场被假定为一维变量,垂直于导体的分量被忽略,并且总磁场强度在每个导体层中为常量;
②绕组被假定为无限长片状导体的一部分,电流密度沿每层导体截面是常数,导体边缘效应被忽略;
③假定磁芯不存在,线圈在整个磁芯宽度方向上均匀分布;
④流过绕组的电压和电流均为正弦波,且线圈无开路。
后来的研究者们对此方法提出了一些修正。事实上,导体的边缘效应对磁性元件的损耗和漏感等有较大的影响。绕组的边缘效应会造成由上述假定所限定的一维绕组损耗计算方法所不能计算的额外损耗。在不同的工作频率下,绕组之间距离不同,造成的交流电阻和漏感不同,对于一个指定的频率,存在一个最佳的距离使得绕组交流电阻最小;绕组在磁芯窗口中的位置对绕组参数也有一定的影响;对于高频变压器,原副边绕组的宽度与绕组损耗和能量的存储也有很大关系:原副边绕组宽度相同时高频变压器可以获得最小的交流电阻和漏感。有关学者对这种边缘效应进行了详细的研究,使用二维有限元仿真软件,通过对磁场分布和电流分布进行分析证明了绕组边缘效应对绕组损耗和漏感的影响。
因为有限元分析方法对每个设计方案都要单独求解,因此不能提供一般的结论,Soft Switching Technologies Corporation的Nasser H.Kutkut对传统的一维绕组损耗计算方法进行了改进,通过在Dowell方法分析结果上添加一些修正因数,则可以将二维的边缘效应考虑进去。使用二维有限元的方法分析绕组的边缘效应损耗,通过研究几何因素如绕组间距、位置等对磁场分布和电流分布的影响,进而得出几何因素对绕组损耗的影响,得出了一系列的绕组优化原则。
在大电流时,铜带的使用是比较常见的,但是铜带使用时会出现较明显的绕组边缘效应,电流变成了不均匀分布的形式,可以想象二维场效应是比较严重的。
在分析铜带绕组的二维边缘效应之前,先做一定的假设:
①假定电流集中在一个趋肤深度内。当铜带导体的厚度是当前工作频率对应的趋肤深度的若干倍时,这一点是成立的。
②假定电流密度沿着铜带导体表面是Js,则铜带厚度方向上电流密度的分布满足式(3.1):

n表示铜带从表面深入到内部的深度,k为结构系数。
在高频的情况下,趋肤深度非常小,导体表面的磁场接近线性磁场,这种情况下,导体表面的电流分布类似于在标量电势作用下的导体表面的静电荷分布,方形铜带问题的分析就可以简化为与之等截面积的椭圆状铜带导体的分析,方形铜带导体和椭圆形铜带导体的截面关系如图3.1所示。

图3.1.铜带的椭圆近似模型分析
使用这种假设条件,则可以得到沿着铜带的电流密度分布为式(3.2)所示:

由式(3.2)可以看出,当x=b或者x=-b时电流密度Js最大。
即铜带在导体的边缘处达到最大值,从磁场分布的角度来看,在铜带导体的边缘处由于边缘效应,磁场垂直于导体的分量会很大,这样就导致了这个磁场分量对铜带导体的切割,铜带绕组的涡流损耗会增大,同时导体边缘处的强磁场会导致电流密度的显著增大。电流分布是在边缘处很强,中间较为平均,由于边缘处受强磁场的吸引,显示高的电流密度,这种电流密度在端部的重新分布增加了导体的交流电阻,其结果比一维分析的要大很多。通过优化铜带边缘的场分布,可以减小边缘处的磁场垂直分量,这样可以改善铜带导体电流密度的分布,减小绕组高频损耗。具体方法是在铜带边缘处使用高磁导率磁芯,减小磁路磁阻,这样就会降低了铜带端部的磁场,减小了端部的电流分布,绕组损耗将会降低,但是需要特殊的磁芯工艺。
4.绕组涡流损耗
对于高频变压器,因为存在原边和副边绕组,所以可以通过绕组交错布置的方式小绕组的漏感和涡流损耗。在绕组交错布置时,因为原、副边绕组的磁势是相反的,此会存在一个去磁效应,磁芯窗口中的磁势会有一定的减小,漏磁场和高频时漏磁场成的导体涡流损耗也会比较小。
对于高频电感而言,它只有一个绕组,磁路中的气隙磁势和绕组的磁势平衡,在窗口中没有其它绕组的磁势可以和电感绕组的磁势相平衡产生去磁效应,因此电感磁芯窗口中的磁势较大,磁场较强。
通过分析可以发现,电感中的磁通主要分为以下几个部分:
①主磁路磁通。这部分磁通是流通在电感磁芯中的磁通,它不会在磁芯窗口中出现,因此它不会切割导体,也不会产生导体损耗。
②气隙边缘磁通,即扩散磁通。这部分磁通是由于气隙磁势而产生,它在磁芯窗口中出现,在高频时会切割窗口中的导体造成涡流损耗。
③旁路磁通。这部分磁通不是由于气隙磁势而产生,而是由于相邻磁芯柱之间的磁势差而产生,当气隙较小时,旁路磁通在窗口磁通中占较大比例。

图4.1. 磁通分布图
4.1旁路磁通损耗
旁路磁通通过磁芯窗口跨过相邻的磁芯柱,在绕组上产生大量的涡流和损耗,气隙的边缘磁通是由于跨过气隙的磁势造成的,而旁路磁通是由于相邻磁芯柱间的磁势差异造成,沿着磁芯柱窗口的磁势分布取决于载流绕组和气隙的位置。沿着磁芯柱磁势随着载流绕组安匝增大而增加,随着跨过气隙而降低。通过做出如下一维假设,可以对旁路磁通作一定的分析。
1.假定磁芯磁导率是无穷的,磁场进入磁芯窗口是垂直于磁芯表面的。
2.绕组添满整个磁芯窗口宽度,绕组边缘效应很小,可忽略。
3.对圆导体进行一维等效,变成一片方导体,使用等效厚度和等效电导率,磁场在磁芯窗口中平行于导体表面,属一维分布。
4.气隙可认为很小,边缘磁通很小,对旁路磁通影响很小,然而无论气隙多么小,边缘磁通都存在,因为气隙磁势是存在的。

图4.1.1 Dowell绕组损耗分析模型
如图4.1.1所示为磁芯窗口中的第m层铜带绕组,其上、下表面的磁场强度分别Hm1和Hm2,则这层铜带绕组的电流分布和绕组损耗可以通过Dowell方程得出,如式(4.1.1)所示:

式中

f是工作频率,σeq是铜带的等效电导率,μ是绕组的磁导率,Aeq和W是等效铜带的厚度和宽度。总的旁路磁通绕组损耗可以通过求和得出,如式(2.1.3)所示:
通过用一维的方式分析旁路磁通可知:绕组的电流密度与沿导体的磁场强度密切相关,不同的气隙位置导致不同的窗口磁势,因此沿导体的磁场强度会有较大的不同,沿导体的电流密度分布也会有较大的不同。
旁路磁通的大小是与磁芯高度方向上的平均磁压降密切相关的。当气隙处于中间与两端时,磁压分布如下图所示:

图4.1.2 EI型(a)和EE(b)型磁芯电感窗口磁势分布
图a中的平均磁压降为IN/2,b为IN/4。
假定旁路磁通与底边平行,又由于B=dU*u0/w,可知,a中的磁密必定大于b中的磁密,磁场方向与线圈垂直。
下面是损耗与平均磁压降的关系:

图4.1.3 损耗随平均磁压降变化图
由图可看出磁压降越低,损耗越低。
由此,如果我们可以将磁压降降得更低,就可得到损耗更低的电感!

图4.1.4 磁压降与气隙位置的关系
由于它将气隙交错布置,使磁压降在高度方向上出现二次转折,仅为IN/8。它的损耗比起气隙居中者可再下降约50%。
因此我们可以知道在电感磁势一定的情况下,EE磁芯窗口中的最大磁势是EI磁芯的一半。磁芯窗口中的最大磁势的减小,有助于减小旁路磁通,进而旁路磁通造成的导体涡流损耗也会减小,所以在选择磁芯时应该引起注意,利用交错气隙可以减少磁芯窗口内的旁路磁通。
4.2扩散磁通损耗
滤波电感工作时输入的电流波形是一个直流分量叠加一个开关频率的纹波,因此在设计电感时为了在磁芯中瞬间存储能量,磁路中需要有一个较大的磁势,因此一般都需要添加气隙。在磁路设计时,因为磁芯(比如铁氧体)和磁绝缘物质(比如空气)之间的磁导率比例系数大约为10^3,因此磁通在磁路中并非完全限制在磁芯中,气隙的存在会使这部分散落在空气中的磁通增加。
在含有气隙的电感中,绕组的磁势和气隙的磁势是平衡的,因为绕组的磁势较大,所以气隙的磁势也较大,而且由于气隙和磁芯的磁导率的差异相对较大,磁势主要降落在气隙上面。绕组磁势和气隙磁势的相对位置的不同会导致不同的气隙边缘磁场分布。
高频电感中气隙的添加方式主要有以下几种:
①采用只在中心柱中添加单气隙的方式。这种方法在磁芯窗口中产生的边缘磁通较大,高频时边缘磁通切割绕组导体,在导体上会产生很大的边缘磁通损耗。由于气隙磁势和整个线圈的安匝数相同,因此单气隙周围的磁场会很强,磁芯窗口中的磁场的二维效应特别严重,尤其是气隙附近。
②采用在三个磁芯柱上都添加气隙的方式。在磁路气隙长度一定的情况下,这种方法由于减小了气隙的尺寸,即每个磁芯柱上气隙长度是中柱单气隙的一半,因此每个气隙的磁势是整个线圈安匝数的一半,气隙磁势的降低大大减小了气隙的边缘磁通,因此边缘磁通在导体上造成的损耗会有较大减小,但是这种方式会造成较大的外部散漏磁场,这部分磁场虽然不会造成电感的额外涡流损耗,但是会对周围器件产生一定的电磁干扰。
③采用分布式气隙的方式,即将中柱的大气隙分割成若干个小气隙,而气隙总长度不变的方式。这种方式会减小气隙边缘磁通,从而对减小电感的涡流损耗有益,但此种磁芯需要特殊加工。
④采用均匀分布式气隙。即磁芯中柱使用低磁导率材料,相当于气隙均匀分布在磁芯中,减小了气隙边缘磁通,但是这种方式磁芯需要特殊加工,低磁导率材料在高频时磁芯损耗会比较大,但是这种方式可减小导体的涡流损耗
图4.2.1所示为三种不同的电感气隙布置方式对边缘磁通分布的影响。气隙放置在中柱上时的磁通分布如图4.2.1 (a)所示,等效气隙放置在中柱和外侧柱时的磁通分布如图4.2.1 (b)所示,磁芯中柱用均匀分布气隙磁芯代替时的磁通分布如图4.2.1 (c)所示,由图可知,4.2.1 (a)中边缘磁场范围较大,4.2.1 (b)中气隙尺寸减小后,边缘磁场范围减小了一些,4.2.1 (c)中的边缘磁场最小。在4.2.1 (c)中由于气隙和绕组的长度基本相同,因此二者磁势的空间分布的不平衡因素最小,使得这种情况下的气隙边缘磁场最弱,窗口磁场的分量基本上是平行于导体的一维分布,类似于变压器中的漏磁场。
在导体中流过高频电流时,气隙边缘磁场也是高频交变的,因此它会在导体中产生很大的涡流损耗,用有限元方法对此分析非常方便。当采用4.2.1(a)中的气隙分布时漏在空气中的磁场较小;而4.2.1 (b)中的散落在空气中的外部磁场较大,对外界电磁污染较大; 4.2.1 (c)中气隙边缘磁场和外部磁场都比较小,使用时应该根据实际要求折衷考虑。

图4.2.1 气隙处于的三种不同位置的电感
我们以气隙至磁芯顶部的距离与磁芯中柱高度之比(hg/h)为变量,可得出气隙在不同位置时电感器损耗变化图如下:

图4.2.1 损耗随气隙位置变化图
由此图可知,气隙在中间时损耗最小,在两端时损耗最大,差别可达100%。这也就是我们通常EE Core用得比EI Core多的一个原因。
扩散磁通与气隙形状有关,与位置关系不大,当然当它在两端时由于磁路长度发生一定变化,还是有所变化的。
减小气隙边缘磁通的方法主要有以下几种:
①通过使导体远离气隙,保持导体和气隙之间有一定的距离来减小气隙边缘磁通的影响,但是磁芯窗口宽度是很有限的,这样做会减小磁芯窗口的利用率。
②将绕组导体放置在磁芯窗口中一个固定的区域中,而这个区域边缘磁通很小,这种方式同样可以减小气隙边缘磁通造成的导体涡流损耗,但是这种方式增加了绕线的复杂性。
③采用分布式气隙或均匀分布气隙。因为在气隙总长度不变的情况下,每个气隙的尺寸得以减小,这种方式可以在很大程度上减小气隙边缘磁通,它附近导体的涡流损耗会有较大的改善,但是这种方式的磁芯需要特殊的加工,比较复杂。同时增加太多的小气隙,对减少绕组的损耗不一定明显。
磁芯和绕组参数同图4.2.2(a)和表1中的三种方案。气隙布置在3个磁芯柱上,每个磁芯柱上的气隙总长为0.6mm,拆分成的小气隙在磁柱上均匀分布,图4.2.5为每个磁柱上6个分布小气隙的示意图。当电感绕组中通过幅值为1A,频率为300kHz的正弦电流时,用Ansoft Maxwell 2D 电磁场有限元软件得到单位长度的绕组损耗随小气隙个数的变化趋势如图4.2.6所示。

图4.2.2 (a)铜箔绕组结构图(b)漆包线绕组结构图

图4.2.3 漆包线绕组和铜箔绕组的磁通分布图


图4.2.4 绕组损耗随气隙间磁柱长度变化的关系图

图4.2.5 多气隙结构图

图4.2.6 绕组损耗与分布气隙个数的关系图
对图4.2.6所示的结果进行分析,刚开始增加气隙的个数,能大大减少绕组的损耗。但气隙的个数增加到6到7个气隙以后,再增加气隙的个数对绕组损耗影响不大。
在方案1中当磁柱上为一个集中气隙时,气隙长度为0.6mm,绕组距磁芯边柱的距离为0.45mm,即绕组距边柱为0.75个气隙长度。当磁柱上为两个小气隙时,气隙长度为0.3mm,绕组距边柱为2个小气隙的距离,从图4.2.6可见此时增加气隙能大大减少绕组的损耗。当磁柱上为4个气隙时,小气隙长度为0.15mm,绕组距边柱为3个小气隙长度,以后再增加气隙的个数,绕组损耗的减少就不多了,当气隙增加到6个时,小气隙长度为0.1mm,绕组距边柱为4.5个小气隙长度,以后再增加气隙的个数,绕组损耗的减少就不明显了。这和绕组应避开气隙3个气隙长度的距离是一致的。因为再增加绕组避开气隙的距离,气隙附近的扩散磁通对绕组的损耗影响就较小了。根据上面的分析,当绕组距气隙的距离增大时,所需的小气隙个数应该减少。在方案2中绕组距气隙的距离为0.65mm,用AnsoftMaxwell 2D 电磁场有限元软件得到单位长度的绕组损耗如图4.2.6所示。可见比方案1可用较少的气隙个数。在方案3中绕组距气隙的距离为0.85mm,用AnsoftMaxwell 2D 电磁场有限元软件得到单位长度的绕组损耗如图4.2.6所示,可见比方案2可用较少的气隙个数。
根据前面的分析,为了减少绕组损耗,小气隙的个数应增加到使绕组距气隙的距离大于3个小气隙。但没有必要增加气隙的个数使绕组距气隙的距离大于5个小气隙的距离,因为此时再增加气隙个数对绕组损耗影响很小。
由以上分析可以得到以下结论:
1)高频磁件绕组的交叉换位技术能够有效降低绕组的交流电阻和漏感;
2)绕组层间距对交流电阻的影响与磁件的结构有关;
3)采用分布气隙可以有效降低气隙扩散磁通的影响, 另外变换气隙的位置及绕组相对气隙的形状, 也可以减小绕组的交流电阻。
4) 气隙设在磁芯窗口的拐角处或其附近,使扩散磁通更容易深入到磁芯窗口内,易导致绕组损耗增加。分别由漆包线和铜箔构成的绕组,电感气隙位置对磁芯窗口内旁路磁通的影响是不同的,最终导致对电感绕组损耗影响的不同。
5) 采用分布小气隙代替集中的大气隙时,当气隙间的磁柱长度约为5个气隙长度左右时,气隙之间的影响较小。
采用较多的分布小气隙代替集中气隙时,小气隙的个数应增加到使绕组距气隙的距离大于3个小气隙。但没有必要增加气隙的个数使绕组距气隙的距离大于5个小气隙,因为此时再增加气隙个数对绕组损耗影响很小。
小结
对磁性元件的绕组进行合理设计, 能够有效地提高磁性元件性能,但是磁性元件的设计是一个复杂的综合过程, 包含非常多的内容, 需要整体、系统地考虑各种因素。
1.《一次弄懂:集肤效应、邻近效应、边缘效应、涡流损耗》援引自互联网,旨在传递更多网络信息知识,仅代表作者本人观点,与本网站无关,侵删请联系页脚下方联系方式。
2.《一次弄懂:集肤效应、邻近效应、边缘效应、涡流损耗》仅供读者参考,本网站未对该内容进行证实,对其原创性、真实性、完整性、及时性不作任何保证。
3.文章转载时请保留本站内容来源地址,https://www.lu-xu.com/shehui/18380.html























