焊接螺母是将机械设备连接紧密的零件,只能通过相同规格的内螺纹、螺母、螺钉连接在一起。例如,M4-0.7螺母只能与M4-0.7螺钉匹配。采用特种铝合金、不锈钢、低碳钢等材料进行种子焊接,强度高。焊接螺母是螺母,用于与螺栓或螺钉紧固在一起,是所有制造机械的原装产品。焊接螺母是紧密连接机械设备的零件,只能通过相同规格的内螺纹和焊接螺母、螺钉连接在一起。
2016年8月23日,在相关监督检查中提出“焊接的标记由原来填写的平均改为具体长度”。焊接螺母的具体规格如下:对于焊接在板上的螺母,螺母承载能力较小的焊缝采用三级焊缝间断焊接,承载能力较大的采用全焊缝焊接,焊接参数根据板厚、螺母尺寸和承载能力确定。
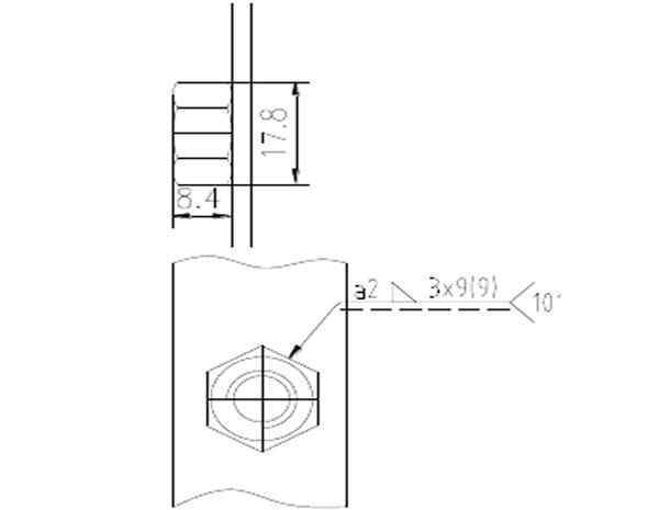
M5螺母间歇焊接焊接标记示意图:

M6螺母间歇焊接的焊接标记示意图;

M8螺母间歇焊接的焊接标记图示:

M8螺母全焊标记示意图:

M10螺母间歇焊接焊接标记示意图:

M10螺母全焊标记示意图:

M12螺母断续焊接焊接标记示意图:


M12螺母全焊焊接标记示意图:

1.《焊接螺母 焊接螺母的标准,焊接螺母、螺栓的规范标注》援引自互联网,旨在传递更多网络信息知识,仅代表作者本人观点,与本网站无关,侵删请联系页脚下方联系方式。
2.《焊接螺母 焊接螺母的标准,焊接螺母、螺栓的规范标注》仅供读者参考,本网站未对该内容进行证实,对其原创性、真实性、完整性、及时性不作任何保证。
3.文章转载时请保留本站内容来源地址,https://www.lu-xu.com/guoji/1699447.html