
文本/王千
7月12日,“公司深度阅读”获悉,今年以来,福建贵真堂药业股份有限公司及数名企业领导因卷入多起民间借贷纠纷,未能履行还款义务,多次被列入失信名单,总金额超过4000万元。
归真堂因其“活熊取胆”的业务而备受舆论关注。2013年和2015年,由于体育保险组织和舆论的反对,其影响IPO和NEEQ的企图被终止。
相关资料还显示,2016年至今,归真堂已25次被列入欠税公告名单,欠税内容包括企业所得税、房产税和增值税。
据“公司深度阅读”不完全统计,归真堂纳税总额达2703.5万元。
养899只黑熊换胆汁
据工商资料显示,贵真堂药业有限公司成立于2000年,注册地为福建省泉州市。归真堂注册资本1.17亿元,法定代表人邱丽萍。其经营范围涵盖中草药、酒类、茶类产品和医疗器械的生产。

归真堂专业生产和销售熊胆粉。熊胆粉的原料是通过饲养黑熊并获得熊胆得到的。
在两份招股说明书中,归真堂披露了公司募集的黑熊数量。2012年养了400只黑熊,到2015年增加到899只。根据数据,每只黑熊每年需要排出49.5升胆汁,可以装满20个2.5升可乐瓶。
根据规范,2013年至2015年上半年,归真堂主营业务以熊胆粉为主,持续增长。
2013年,归真堂熊胆粉系列产品销售额达1.48亿元,总收入1.71亿元;2014年,熊胆粉系列产品销售额增长至1.57亿元,总收入小幅增长至1.73亿元。
2015年前8个月,熊胆粉销售额达到9600万元人民币,相当于上一年全年销售收入的61.1%。

“公司深度阅读”注意到熊胆粉的毛利率极高。根据招股说明书披露,2013年至2015年前8个月,熊胆粉系列产品毛利率在87%以上。
报告期内,归真堂扣除非经常性损益后的净利润分别达到5911.08万元、5770.89万元和3023.95万元。
两次不成功的资本市场尝试
归真堂是典型的家族企业,邱一家通过控股公司恒宗宝元和胜宗德宝持有公司42.28%的股份。
在董事会的6名非独立董事中,邱一家占4名,分别是邱丽萍、邱淑华、杨和。
2012年,归真堂尝试在创业板IPO。三年后,它计划登陆新三板。但这两次对资本市场的冲击,因为动物保护组织和舆论的反对而结束。
动物保护组织认为归真堂的“活熊取胆”太残忍;熊胆粉中的产品行业已经被国家限制,行业没有前途,对投资者不好。
“我们不希望使用如此残忍手段生产产品的公司登陆资本市场。”动物保护组织说。

2012年,归真堂开设核心工厂供媒体参观,证明取胆过程不会造成黑熊的痛苦。
五次被列为“老赖”
多重迹象表明,上市不成功后,在招股说明书中表现火爆的归真堂陷入困境。
在“公司深度阅读”中查阅工商资料,发现归真堂药业在短短几年内卷入了多起民间借贷纠纷,取得了9次法院强制执行和25次欠税记录。

工商资料显示,自2015年起,归真堂先后被林、黄、徐、张等9批自然人起诉。这些案件都是民间借贷纠纷,初审法院涉及福建、江苏、四川等省市。
据“公司深度阅读”不完全统计,上述贷款纠纷累计涉案金额达6320万元。
司法文书显示,2016年5月,自然人张起诉归真堂药业,要求偿还贷款1440万元及相应利息;2017年1月,因民间借贷纠纷,王兴自然人起诉桂真堂和泉州某鞋业公司,后申请法院强制执行。
2017年10月,江苏省连云港市海州区人民法院作出裁定,要求被告邱丽萍、、邱、福建贵真堂药业在贷款期间向原告支付贷款本金1800万元及利息63万元。法院也支持。
2017年11月,江苏省张家港市人民法院裁定冻结归真堂药业等企业银行存款共计3080万元。这与民间借贷纠纷有关。
根据最高人民法院网提供的企业信用信息,贵真堂药业自2018年以来,因拒绝履行生效法律文件规定的义务,五次被列入不值得信赖的执行人名单,涉及金额合计4235万元。
据公开信息,归真堂上一次上市是在今年5月24日,有效法律文书规定的义务是向申请人支付400万元。
生产设备抵押,欠税次数高达25次
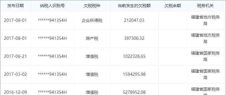
“公司深度阅读”还发现,自2016年以来,归真堂已25次被列入欠税公告名单,欠税包括企业所得税、房产税和增值税。
据“公司深度阅读”不完全统计,归真堂纳税总额达2703.5万元。
其中2016年发生8起,2017年共发生17起左右。这说明2017年欠税频率明显增加。

此外,归真堂还抵押了部分生产设备。
根据福建省惠安县市场监督管理局公开的信息,归真堂的部分生产设备,如全自动硬胶囊灌装机、袋装饮料包装机、贞空冷冻干燥机、一定量的熊胆粉等。,均作为财产抵押。
总价值5000万,抵押权人为当地供应链管理公司。
7月12日,“公司深度阅读”致电当地两家商家,对方称归真堂药业仍在开门,经营者仍在当地。
“公司深度阅读”以药品经销商的名义联系贵真堂泉州分公司时,对方表示贵真堂药业生产的熊胆产品一直得到市场认可,产量稳定,仍在正常生产销售中。
1.《归真堂 归真堂陷入困境:公司多次成“老赖”,欠税已达25次》援引自互联网,旨在传递更多网络信息知识,仅代表作者本人观点,与本网站无关,侵删请联系页脚下方联系方式。
2.《归真堂 归真堂陷入困境:公司多次成“老赖”,欠税已达25次》仅供读者参考,本网站未对该内容进行证实,对其原创性、真实性、完整性、及时性不作任何保证。
3.文章转载时请保留本站内容来源地址,https://www.lu-xu.com/caijing/1781373.html